GB/T15256硫化橡胶或热塑性橡胶
低温脆性的测定(多试样法)

警告:使用本标准的人员应有正规实验室工作的实践经验。本标准并未指出所有可能的安全问题,使用者有责任采取适当的安全和健康措施,并保证符合的有关法规规定的条件。
注意:本标准规定的某些步骤可能涉及使用或产生某些废弃物,这可能对局部环境产生危害。相关文件中应规定适当的安全操作和废弃物使用后的处理条款。
1、范围:
本标准规定了测定橡胶材料在规定条件下经受冲击时不出现脆性破坏的低温度或部分试样出现脆性破坏温度的方法。
本标准适用于硫化橡胶或热塑性橡胶低温脆性的测定。
因为材料的脆性温度受测试条件和冲击速度的影响,这样测得的脆性温度不一定是这种材料可以使用的低温度。这种方法获得的数据只有在变形条件和试验规定的条件相似的情况下,才可用于预见橡胶材料在低温下的特性。
描述了三种程序。程序A:测定脆性温度;程序B:测定50%破坏的脆性温度;程序C:在规定温度下冲击拭样。
程序C用于橡胶材料的分类及评价橡胶材料符合性。
注:对于橡胶涂层织物的类似测试见ISO 4646,橡胶或塑料涂层织物低温冲击试验。
2、规范性引用文件:
下列文件对于本文件的应用是必不可少的。凡是注日期的引用文件,仅注日期的版本适用于本文件。凡是不注日期的引用文件,其新版本(包括所有的修改单)适用于本文件。
GB/T 25269—2010橡胶试验设备校准指南(ISO 18899:2004,IDT)
ISO 23529橡胶物理试验方法试样制备和调节通用程序(Rubber—General procedures for preparing and conditioning test pieces for physical test methods)
3、语和定义:
下列术语和定义适用于本文件。
3.1
脆性温度brittleness temperature
在规定的条件下一组试样不产生低温破坏的低温度。
3.2
50%脆性温度 50% brittleness temperature
在规定的条件下一组试样50%发生低温破坏的温度。
3.3
试验速度testing speed
试验装置的冲击头与被夹紧试样之间冲击时的相对线速度。
4、装置和材料:
4.1 试样的夹持器和冲击头
应满足4.1.1〜4.1.3的规定要求。
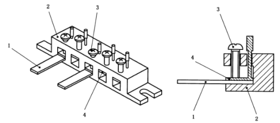
4.1.1 试样夹持器应是坚固的,并且应设计成悬臂梁。每个试样应被牢固和稳定地夹持,且不产生变形。试样的夹持器见图1。
说明:
1——试样;
2——夹持部分;
3——紧固螺钉;
4——试样夹。
图1试样夹持器
4.1.2 冲击头沿着垂直于试样上表面的轨道运动,以2.0m/s±0.2m/s的速度冲击试样。冲击后冲击头速度应至少维持在6mm行程范围内。
为了获得在冲击期间和冲击后达到规定的速度范围,应确保有足够的冲击能。每个试样应至少需要3.0J的冲击能。因此需要限定每次冲击试样的数量。
4.1.3 该装置的主要尺寸如下[见图2a)和图2b)]:
a)冲击头半径为1.6mm±0.1mm;
b)在冲击时冲击头和试样夹持器之间的间隙为6.4mm±0.3mm;
c)冲击头的冲击点和试样夹持器之间的距离为8mm±0.3mm。
注:试验装置可用于满足本标准要求的旋转电机、电磁线圈、重锤、或弹簧驱动的冲击器。电磁线圈驱动型低温冲击器速度的校准方法在附录A中给出。
4.2 传热介质
传热介质可采用在试验温度下对试验材料无影响并能保持为流动的液体或气体,见ISO 23529中的规定。
设备设计时可以使用气体作为传热介质。用气体和液体作为传热介质可获得相同的温度。
下列的液体可以满足使用要求:
a)温度下降到-60℃,可用在室温下具有5m2/s运动黏度的硅油,其化学性质接近橡胶,不易燃并且无毒;
b)温度下降到-70℃,用乙醇;
c)温度下降到-120℃,用液氮制冷的甲基环己烷(使用合适的装置是可以满足要求的)。
单位为毫米
说明:
1——试样;
2——冲击头;
3——试样夹持器;
4——距离夹持器总线近的冲击头上点的运动轨迹;
5——冲击头上冲击点的运动轨迹。
图2试样夹持器和冲击头
4.3 温度测量装置
应在整个使用范围内精度控制在0.5℃之内的温度测量装置。
温度传感器应放置在试样附近。
4.4 温度控制
能够使传热介质的温度维持在±1℃范围内。
4.5 传热介质容器
无论液体介质或气体介质测试室,都是通过传热介质加热。
4.6 传热介质的搅拌
液体的搅拌或气体的风扇、风机都能够确保传热介质的循环。重要的是搅拌器应使液体垂直运动以确保液体具有均匀的温度。
4.7 秒表或其他的计时装置
到秒。
5、校准:
试验设备的校准应依据附录B给出的规定进行。
6、试样:
试样有下列两种类型:
——A型:条状试样,长度为26mm〜40mm,宽度为6 mm±l mm,厚度为2.0mm±0.2mm;
——B型:试样厚度为2.0mm±0.2mm,形状尺寸见图3。
单位为毫米
图3 B类型试样
试样应按照ISO 23529的规定进行制备。试样通常使用锋利的裁刀从薄片上裁切而成。此外,A型试样也可以使用刃口平行的双层刀片通过一次冲切成为条状,然后将条状试样切到适当的长度。
7、硫化和试验之间的时间间隔:
除非另有规定,硫化和试验之间的时间间隔应按照ISO 23529的相关规定。
8、程序:
8.1 程序A(脆性温度的测定)
8.1.1 将浴槽或测试室的温度降至预期试样不破坏的总线低温度之下。试样夹持器应浸没在冷浴槽或
测试室中。在液体为热传递介质情况下,浴槽应确保有足够的液体,以确保试样至少浸没到液面25mm以下。
8.1.2 快速将试样固定在试样夹持器上,当使用液体介质时,在测试温度下将试样夹持器浸入液体中5min,当使用气体介质时则浸入气体中10 min(见ISO 23529)。
注1:对于非常柔软的材料,有必要使用装置去支持试样水平放置直至冲击被释放。
试样的自由长度至少应大于19mm。
测试5个A型或B型试样。如果有效的冲击能量达到4.1.2中规定的总线小值,在相同的时间下可以测试试样。
适当地拧紧夹持器是非常重要的。夹持器应紧固以使每个试样的有近似相同的夹持力。
注2:夹持力是可以影响试样的断裂温度,建议夹持力为0.15n〜0.25N。
8.1.3 在试验温度下,经规定的时间浸泡后,记录温度并对试样进行一次冲击。
8.1.4 从试验夹持器上移走试样到标准试验室温度下,检查每个试样确定是否破坏。将试验时出现的任何一个肉眼可见的裂缝或小孔,或完全断成两片以至更多碎片定义为破坏。当试样没有完全断裂时,将试样沿着冲击时所形成的弯曲方向弯曲成90°角。然后在弯曲处检查试样的破坏情况。
8.1.5 若试样破坏,温度升高10℃重新做一组试验,每个温度下使用新的试样直至试样无破坏为止。若试样无破坏,然后将温度降低到已观察到的破坏总线高温度。
以2℃的温度间隔控制升温或降温,直至测出一组试样无破坏的总线低温度。记录此温度为脆性温度。
如果要研究结晶或塑性随时间变化的影响,在气体传热介质中需要更长的调节时间。
8.2 过程B(50%脆性温度的测定)
8.2.1 除了初始温度是期望50%破坏的温度,其余执行过程见8.1.1〜8.1.4的描述。
8.2.2 如果在初始温度下所有的试样破坏,升高温度10℃并重新试验。如果在初始温度下所有的试样无破坏,降低10℃并重复试验。温度以2℃的量增加或减少并重新试验直到确定没有一个试样破坏的总线低温度和所有试样破坏的总线高温度。记录在每个温度下破坏的试样数量。在每个温度下使用一组新的试样。使用8.2.3中的公式或8.2.4的图解方法来确定50%脆性温度。
8.2.3 计算:从每个温度下试样的破坏数量计算破坏的百分比来确定50%的脆性温度,见式(1):
………………………………(1)
式中:
Tb——50%脆性温度,单位为摄氏度(℃);
Th——所有试样都破坏的总线高温度,单位为摄氏度(℃);
T——测试温度之间的间隔温度,单位为摄氏度(℃);
S——从没有试样破坏到试样全部破坏的温度范围内,每个温度下试样破坏的百分比之和,%。
8.2.4 图解方法:从各自的温度下破坏的试样数量,计算出在每个温度下破坏的百分比。接下来使用正态概率纸见图4,将每一百分比对温度作图,温度以线性模式和破坏百分比以概率模式获得,并且通过这些点绘制总线佳合适的直线。这个直线与概率线交叉点的温度就是50%的脆性温度TB。
说明:
x——破裂的百分数,%;
y——温度,单位为摄氏度(℃)。
图450%脆性温度Tb图解方法的确定
8.3 过程C(在规定的温度下测试)
8.3.1 除了使用的温度由材料的规格或材料的分类规定外,其余实施过程见8.1.1〜8.1.4的描述。
8.3.2 如果没有一个试样破坏视为合格,或任何一个试样破坏可视为不合格。
硫化橡胶低温脆性测定仪