TRD-S1000B

发布时间:2025-05-08

我司是一家高品质编码器制造厂家,所生产的编码器均为厂家自产自销,厂家拥有海量库存,质量可靠,我们是的产品*,深受广大用户信赖。

TRD-S1000B旋转编码优点如下:
1、信息化,除了定位,操控还可知道其具体位置:
2、柔性化,定位能在操控室柔性型,现场装置的便利和安全、长命;拳头巨细的一个旋转编器,能够丈量从几个到几十几百米的隔,n个工位,只需处理一个旋转码器(长春编器)的安全装置疑问,能够防止许多接近开关、光电开关在现场机械装置费事,简单撞坏和遭高温、水气困惑等疑间。由所以光电电码盘,元机械损耗。只需装置方位。使用寿命往往很长。
3、多功能化,除了定位,还够远传当时方位,换算运动速度,关于变频器,步进电机等的使用尤为重要
4、经济化,关于多个操控工位,只需一个旋转码端的本钱,以及更的装置、保护、损耗本钱下降,使用寿命增加,其经济化逐步突显出来。
TRD-S1000B

问何为长线驱动?普通型编码器能否远距离传送?
答:长线驱动也称差分长线驱动,5V,TTL的正负波形对称形式,由于其正负电流方向相反,对外电磁场抵消,故抗干扰能力较强。普通型编码器一般传输距离是100米,如果是24VHTL型且有对称负信号的,传输距离300-400米。
问:能否简单介绍旋转编码器检测直线位移的方法?
答: 1,使用“弹性连轴器”将旋转编码器与驱动直线位移的动力装置的主轴直接联轴。
2,使用小型齿轮(直齿,伞齿或蜗轮蜗杆)箱与动力装置联轴。
3,使用在直齿条上转动的齿轮来传递直线位移信息。
4,在传动链条的链轮上获得直线位移信息。
5,在同步带轮的同步带上获得直线位移信息。
6,使用安装有磁性滚轮的旋转编码器在直线位移的平整钢铁材料表面获得位移信息 (避免滑差)。
7,使用类似“钢皮尺”的“可回缩钢丝总成”连接旋转编码器来探测直线位移信息(数 据处理中须克服叠层卷绕误差)。
8,类似7,使用带小型力矩电机的“可回缩钢丝总成”连接旋转编码器来探测直线位移信息(目前德国有类似产品,结构复杂,几乎无叠层卷绕误差)。
TRD-S1000B

TRD-S1000B旋转编码器的型号说明:

TRD-S1000B

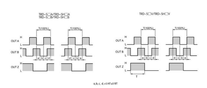
TRD-S1000B旋转编码器的输出方式:

TRD-S1000B

TRD-S实心轴编码器
TRD-S10A、TRD-S10B、TRD-S10V、TRD-S20A、TRD-S20B、TRD-S20V、TRD-S30A、TRD-S30B、TRD-S30V、TRD-S40A、TRD-S40B、TRD-S40V
TRD-S50A、TRD-S50B、TRD-S50V、TRD-S60A、TRD-S60B、TRD-S60V、TRD-S100A、TRD-S100B、TRD-S100V、TRD-S200A、TRD-S200B、TRD-S200V
TRD-S250A、TRD-S250B、TRD-S250V、TRD-S300A、TRD-S300B、TRD-S300V、TRD-S360A、TRD-S360B、TRD-S360V、TRD-S400A、TRD-S400B、TRD-S400V
TRD-S500A、TRD-S500B、TRD-S500V、TRD-S600A、TRD-S600B、TRD-S600V、TRD-S800A、TRD-S800B、TRD-S800V、TRD-S1000A、TRD-S1000B、TRD-S1000V
TRD-S1024A、TRD-S1024B、TRD-S1024V、TRD-S1200A、TRD-S1200B、TRD-S1200V、TRD-S2000A、TRD-S2000B、TRD-S2000V、TRD-S2500A、TRD-S2500B、TRD-S2500V
TRD-SH空心轴编码器
TRD-SH10A、TRD-SH10B、TRD-SH10V、TRD-SH20A、TRD-SH20B、TRD-SH20V、TRD-SH30A、TRD-SH30B、TRD-SH30V、TRD-SH40A、TRD-SH40B、TRD-SH40V
TRD-SH50A、TRD-SH50B、TRD-SH50V、TRD-SH60A、TRD-SH60B、TRD-SH60V、TRD-SH100A、TRD-SH100B、TRD-SH100V、TRD-SH200A、TRD-SH200B、TRD-SH200V
TRD-SH250A、TRD-SH250B、TRD-SH250V、TRD-SH300A、TRD-SH300B、TRD-SH300V、TRD-SH360A、TRD-SH360B、TRD-SH360V、TRD-SH400A、TRD-SH400B、TRD-SH400V
TRD-SH500A、TRD-SH500B、TRD-SH500V、TRD-SH600A、TRD-SH600B、TRD-SH600V、TRD-SH800A、TRD-SH800B、TRD-SH800V、TRD-SH1000A、TRD-SH1000B、TRD-SH1000V
TRD-SH1024A、TRD-SH1024B、TRD-SH1024V、TRD-SH1200A、TRD-SH1200B、TRD-SH1200V、TRD-SH2000A、TRD-SH2000B、TRD-SH2000V、TRD-SH2500A、TRD-SH2500B、TRD-SH2500V

上一篇:YFDM3000防火门监控系统
下一篇:双峰县房屋安全检测鉴定部门