bosch电磁阀防腐技巧4WE6D62/EG24N9K4 DC24V
主要特点:
电磁操作的直动式方向滑阀,预期在潜在爆炸性环境中使用
孔图按 ISO 4401-03-02-0-05
底板具有 FE/ZN 型号(请参阅尺寸)
方向阀为电磁线圈操作的方向滑阀。这些阀控制液压油流的启动、停止和方向。
这些方向阀主要由壳体、一个或两个线圈、控制阀芯和一个或两个复位弹簧组成。
在断电情况下,控制阀芯由复位弹簧固定在中心位置或初始位置(脉冲阀芯除外)。控制阀芯由带湿式插脚的线圈启动。
带湿式插脚的直流线圈
电气连接,可选:带电缆束线圈的单个连接,2 m连接管路,连接器
带手动应急操作
控制流动方向进而控制液压执行机构的移动方向或旋转方向的方向阀(直动式或先导式方向座阀或滑阀)。
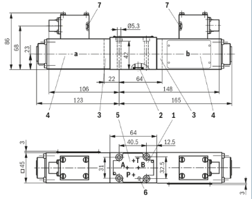
尺寸图:

bosch电磁阀防腐技巧4WE6D62/EG24N9K4 DC24V
公称电压 | 12 V | ||||
电压类型 | 直流电压 | ||||
允许剩余纹波 | % | < 5 | |||
电压公差(公称电压) | % | ± 10 | |||
占空比 1) | % | 100 | |||
额定电流 | mA | 120 | 130 | 190 | |
电磁铁温度为 20 °C [68 °F] 时的线圈电阻 | Ω | 89 | 59 | ||
实现液压切换功率的*小电流 | mA | 88 | 96 | 143 | |
线圈的*关闭电压峰值 | V | - 3 | |||
符合 ISO 6403 的切换时间 | 开 | ms | 145 | 105 | |
关 | ms | 80 | 100 | ||
防护等级符合 DIN EN 60529 2) | IP65 | ||||
R901344095 4WE 6 C5X/BG12-12NXHZ2/V
R901344110 4WE 6 D5X/BG12-12NXHZ2/V
R901388985 4WE 6 D5X/BG12-13NXHCKL/V
R901352188 4WE 6 J5X/BG12-12NXHZ2
R901348789 4WE 6 J5X/BG12-12NXHZ2/V
R901351579 4WE 6 J5X/BG12-13NXHCKL/V
R901379785 4WE 6 M5X/BG12-12NXHZ2/V