意大利1511 10/8-3/8康茂盛管接头规格型号
产品简介:
X6000系列配件已设计提供多功能性和易于安装在质量上没有任何妥协或性能。
他们适合在气动,流体,化学,医疗,食品和包装行业。
X6000系列接头既实用又安全并允许即使在侵略性环境。
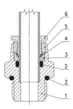
筒夹可确保在配件和油管
公制螺纹用公制单位,美英制螺纹用英制单位。
管螺纹主要用来进行管道的连接,其内外螺纹的配合紧密,有直管与锥管两种。
公称直径是指所连接的管道直径,显然螺纹大径比公称直径大。
1/4,1/2,1/8是英制螺纹的公称直径,单位是英寸。
另外螺纹中的1/4、1/2、1/8标记是指螺纹尺寸的直径,单位是英寸.
行内人通常用分来称呼螺纹尺寸,一吋等于8分,1/4吋就是2分,如此类推.
G就是管螺纹的统称(Guan),55,60度的划分属于功能性的,俗称管圆。即螺纹由一圆柱面加工而成。
ZG俗称管锥,即螺纹由一圆锥面加工而成,一般的水管接头都是这样的,老的国内螺纹标标注为Rc 外螺纹为R
公制螺纹用螺距来表示,美英制螺纹用每英寸内的螺纹牙数来表示,这是它们*的区别,
公制螺纹是60度等边牙型,英制螺纹是等腰55度牙型,美制螺纹60度。
产品图片:


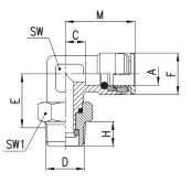
技术规格:
直径ø4-6-8 -10-12 mm
螺纹GAS锥形ISO 7(BSPT)
GAS圆柱ISO 228(BSP)
温度-15°C÷150°C
注意:为了更好地使用配件,我们建议您
检查管路规格。
用于连接聚酰胺(PA)6-11 – 10.12-12,聚氨酯(PU),
聚乙烯(PE),聚四氟乙烯
意大利1511 10/8-3/8康茂盛管接头规格型号