同德县手动无压风门之双向调节风门定制厂家
在钢铁企业大年夜的配景下,被收买重组关于那些状况不抱负的钢铁企业来讲是可以接受的结果,然则还有很多的企业恐将面对参与的命运。而起首面对清退命运的就是那些“僵尸企业”。人平易近大年夜学开展与计谋研究宣布的首份单方面研究“僵尸企业”申报显示,钢铁“僵尸企业”难堪的占据了荆棘铜驼,到达51.43%。
无压风门主要特点
1、风门开启力小,开启力与风压大小及风向无关;
2、双向隔风,漏风量小,无需再设反向风门;
3、钢质构造,结构简单,坚固;
4、关闭平稳,;
5、防火性能好,能有效皮带运输巷可能发生的火灾,防止火灾及有害气体进入其它巷道;
6、压力平衡式风门既能手动听操作,也可动力操作,如再加一套控制,可实现风门的自动开启;
7、两道风门之间可实现相互闭锁。
我司生产的所有矿用自动风门不论是气动按钮型半自动风门还是全自动风门都能靠风门自动开关本身就能完成两道风门之间的互锁要求,但是纯气动风门与电气结合的自动风门相比慢了半拍,这是由于气体的流动速度远远低于光电的传播速度造成的结果。

在矿用气动无压风门控制装置里有气动换气阀和主管闭锁的闭锁阀,控制一道风门开闭的气控按钮气源来自控制另一道风门的气缸的前端管路,只要一道风门处于打开状态,另一道风门的绿色打开风门的气控按钮就失去了气压来源,靠这个原理实现风门互锁,但是当一道风门处于正在打开的中时,其气缸前端还留有一定的气体压力,这就为另一道风门也能同时打开提供了条件,因此纯气动控制风门还是存在两道风门之间能同时打开的可能,只是几率比较低一般遇不到。同德县手动无压风门之双向调节风门定制厂家
气动全自动无压风176v16502562mm虽然是全自动的风门产品,但是风门在工作中一旦遇上停电或者紧急开门情况时就需要泄压开门,自动泄压后即刻就能打开风门,泄压办法其实很简单,我们有专门的卸压按钮只要轻轻一按即可。气动全自动无压风门工作原理简单又直观风门工作全程无须任何外来介入,你往跟前一站等待风门工作即可。同德县手动无压风门之双向调节风门定制厂家

1986年,成立100周年,该博物馆再次扩建。到2006年5月,为了记录自己关于汽车长达120年的荣耀和妄图,梅赛德斯-将汽车博物馆迁徙到戴姆勒主要花费装备的邻近地区——斯图加特(Stuttgart),同时这里也是梅赛德斯奔跑-奔跑的出世地。
榆林矿井地区的矿用全自动风门176H16502562m(气动全自动风门)自动泄压马上装车发货了,连轴工作了12个小时的孙是这批风门的制造者,经他手里打造的风门不计其数,看着将近60岁的老汉,除了外表看着有点老态外,精气神那是相当的足,做起风门那也是相当的有干劲,说起矿用风门来,他由衷的感慨道,从初的手动式无压风门,到现在全自动无压风门,真正体会到了社会的进步,的强大,是啊,看着孙满脸慈祥的笑容,心里也是很感谢带领的一步步走向繁荣富强。在这样的一个社会,有底气,撸起袖子加油干吧。说起这个全自动无压风门主要用于矿上井下联络巷中,当井下发生危险时,冲击波将该抗冲击波门向外冲开,起到释放并缓解井下冲击波的作用。同德县手动无压风门之双向调节风门定制厂家
“矿价和钢价关系的严重掉衡,也直接招致钢企利润被吞噬。”徐世帅剖析称,钢材市场价格大年夜幅走低,但出口铁矿石价格调剂幅度与其其实不不合,除2015年有较大年夜幅度下跌外,其他年份出口矿石价格仍保持或较小降幅。
矿用双向无压风门,平衡无压风门,矿用调节无压风门生产厂家-泰安市宇成矿用设备有限公司。煤矿安全一直是比较的,无压风门是煤矿通风不可缺少的重要安全设施,无论井下工人通行还是矿车通行都要经过风门,而且风门也是井下的重要设施。泰安宇成矿用双向无压风门为你提供。
矿用双向无压风门,矿用自动无压风门是两种不同样式的风门,虽然样式不同但是它的功能都是一样的,双向无压风门通常是四道存在,自动无压风门是二道存在,它们的的不同点可能就是双向无压风门开启为两道常开两道常闭式,在煤矿实际使用中两种风门也各司其能尽的努力为煤矿排忧解难。同德县手动无压风门之双向调节风门定制厂家
然则,久远来看制作的优势不应当体现在低歇息力成本上,而是体现在完整的家当门类、的综合配套才华和创新才华上。一些低端家当向西北亚等转移是汗青开展的肯定现象。比拟之下,一些成本密集型家当、密集型家当倒是我国参与全球竞争的关键环节。

矿用双向无压风门原理:
矿用双向无压风门每套分为两道,每道门为双扇钢制门框,异向同步关闭,运用连杆平衡机构原理,把作用到风门上的压力通过平衡机构转化成内力,并平衡。保证风门打开时省力、方便、灵活。同时,人员通过后,通过配重砣的牵引力实现风门自动关闭。当反向时,只要门扇存在风压,其风门开闭原理与正向时相同,确保了反向时门不会被吹开。兼顾了反向风门的作用。节省一半的费用。矿用双向无压风门,平衡无压风门,矿用调节无压风门生产厂家-泰安市宇成矿用设备有限公司。
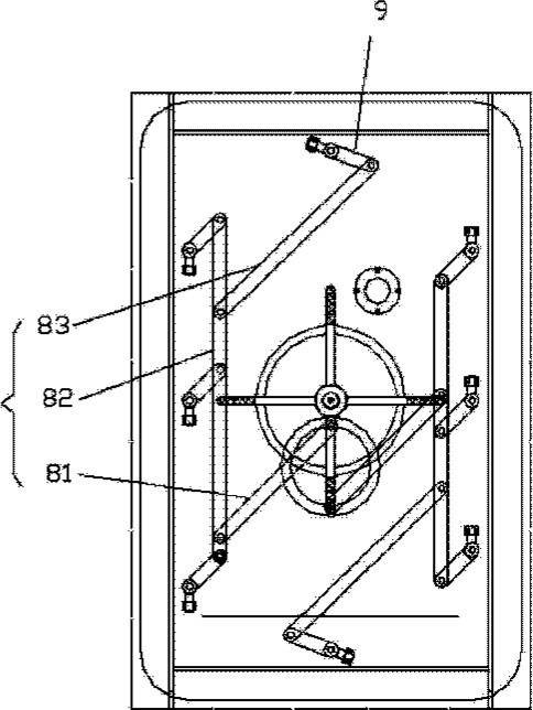
矿用双向无压风门组成:
矿用双向无压风门主要组成部分有门框、门扇、平衡机构、配重砣等组成。门框采用钢制焊接而成,门扇采用钢制材料与平衡连杆结构连接。调节配重砣重量可实现风门自动平稳关闭。
风门开启形式:异向同步开闭。
手动开启力:150N左右。
门扇开启角度 gt;=90度。
气动全自动无压风门工作原理:采用红外线开关传感器作为检测器,在风门的两端分别形成一条不可见的线。当矿工或矿车经过时,会红外线,通过气动控制箱通电电磁阀工作。实现开启关闭风门。还有个功能是为了特殊情况下两道风门需要同时打开时使用,按下解除闭锁按钮后,要恢复自动控制必须先按下主机按钮关闭主机,然后再按主机按钮重新开机在煤矿井下通风中,风门起到举足轻重的作用,在风门里,气动全自动无压风门始终占据重要的位置,随时社会的进步,煤矿事业也迎来了好的时代,为了更率的采矿工作,矿井也不但的升级自己的设备,自动控制风门的到来,迎来了很大得变化。自动风门在巷道无风压时,装置内自动泄压,可手动启闭风门。,自动风门结构紧凑,外形美观,功能可靠,故障率低少。同德县手动无压风门之双向调节风门定制厂家