抗冲击波活门用于井下,起抗冲击波、调节库房所需风量和隔离作用。本抗冲击波活门由门框、门扇、闭锁装置、饺页等部件组成。
1、门框为不等边角组焊框架结构。

2、门扇上部装有三组通风活门装置,即在活门底板开有三组共18个直径122mm的通风孔,活门板外部装有自动 张开12度角的活门悬板。每组活门通风量为2000立方/h,通风量为6000立方/h,风速按8m/s进行设计,使用时可根据井下爆破材料库需要风量和回风道负压值,确定山东中煤通风活门组数,并可调节每组活门悬板的张启角度进行微调,以佳通风量。当库内一旦发生意外情况,冲击波经过衰减后,余压只要大于20KPa时,活门悬板受压再3-8s内自动关闭,与外界隔离,起到保护作用,由回风道。二道江避难硐室门抗冲击波密闭活门性能对比定制厂家

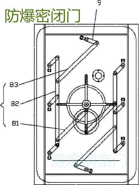
3、闭锁装置设置2组,一组为通常关闭用的闭锁轴,手柄转动式;另一组为紧急闭锁装置,其功能是当冲击力 大于294N时,瞬间,门与门框紧闭,压缩密封圈,锁头进入锁芯,拨动双片弹簧,制动闭锁,防止门反弹; 拨动外钥匙手柄即可解除闭锁。
4、下饺页采用单向推力球轴承支撑,中间采用弹簧折页,确保门自动关闭。

5、密封采用“9”字形截面橡胶条密封。





