产品概述
一体化铸铝机身,不变形,不位移,砝码加载结构,性能稳定,测量精度高,重复性好。硬度换算功能。物镜与压头可自动切换,定位*。7吋高灵敏度触摸屏操作显示。选配通讯协议后可以和电脑通讯,实现电脑自动控制。菜单式结构,实验过程自动化,操作简便。高清光学系统和物镜,光源亮度可以10级调节。测试结果和数据处理,USB数据一键导出EXCEL格式报告。对角线长度D1和D2编码器输入,方便快捷,减少人为读数误差。显示界面采用了菜单式结构,人机对话非常友好,易于操作,安装调试简单。
功能介绍
7吋彩屏显示,高灵敏度触摸屏操作;
菜单式结构,试验过程自动化,操作简便;
高清光学系统和物镜,光源亮度可以10级调节;
硬度换算功能;
对角线长度D1和D2编码器输入,方便快捷,减少人为读数误差
物镜与压头可自动切换,定位*;
可以和电脑通讯,实现电脑自动控制;
测试结果和数据处理, USB数据一键导出,EXCEL格式
应用范围
产品参数
|
型号 |
MHVS5Z(自动转塔) |
|
试验力 |
0.3Kgf、0.5Kgf、1Kgf、2Kgf、3Kgf、5Kgf |
|
转换标尺 |
GB,ISO,ASTM |
|
测量范围 |
8-2900HV |
|
*小测量单位 |
0. 0625μm (20倍物镜);0.125μm (10倍物镜) |
|
试验力保荷时间 |
5~60s可调(每1秒为一单位) |
|
测量精度 |
满足或高于GB/T4340.2 |
|
放大倍数 |
观察与测量100X , 测量200X |
|
数据输出 |
USB |
|
加荷控制 |
自动(加荷、保荷、卸荷) |
|
仪器重量 |
约45kg |
|
试件*尺寸 |
*高度165mm ,压头中心到内壁130mm |
|
电源 |
AC220V±5%,50~60Hz |
|
执行标准 |
GB/T4340.2*标准 JJG151规程 |
|
可选附件 |
XY工作台,电动XY工作台、CCD测量系统,努氏压头、细丝夹持台、RS232上下位机实时通讯 |
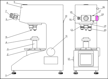
硬度计外形
硬度计主机外形
|
1.调节螺钉 |
2.旋轮 |
3.螺杆 |
4.试台 |
5.压头 |
|
6.目镜 |
7.眼罩 |
8.上盖 |
9.摄像盖板 |
10.后盖板 |
|
11.手轮 |
12.电源开关 |
13.10х物镜 |
14.灯源 |
15.左鼓轮 |
|
16.圆插座 |
17.测量按钮 |
18.右鼓轮 |
19.转塔 |
20. 20х物镜 |

标准配置
名称
数量
名称
数量
仪器主机
1台
物镜20x、10x,
各1只
维氏压头
1只
砝码(5KG)
3只
维氏硬度块
2块
大、中、“V”试台
各1只
电源线
1根
10×测微目镜
1只
产品使用说明书
1份
产品合格证
1份