产品介绍
一体化铸铝机身,不变形,不位移,外观漆水采用汽车烤漆工艺,砝码加载结构,性能稳定,5.1吋大屏LCD显示,可切换硬度标尺HV或HK;菜单式结构,实验过程自动化,操作简便;高清光学系统和物镜,光源亮度可以20级调节,硬度换算功能;对角线长度D1和D2编码器输入,减少人为读数误差,自动砖塔式物镜和压头可自动切换,定位准确;测量结果和数据处理,可通过打印机输出。
功能介绍
5.1吋大屏LCD显示,可切换硬度标尺HV或HK;
菜单式结构,试验过程自动化,操作简便;
高清光学系统和物镜,光源亮度可以20级调节;
硬度换算功能;
对角线长度D1和D2编码器输入,减少人为读误差
物镜与压头可自动切换,定位准确;
测试结果和数据处理,可通过打印机输出

应用范围
材料研究和科学试验方面小负荷维氏硬度试验,测试小型精密零件的硬度,热处理、碳化、淬火硬化层,表面覆层,钢,有色金属、薄片材料和细线材的硬度,刀刃附近的硬度,牙科材料的硬度等,还能测试表面硬化层硬度和硬化层深度。也可用于测试诸如玻璃、珠宝和陶瓷等用洛氏测试方法及其它相对大试验力测试无法测试的非金属材料。它能遵循金属的结构,测试感应硬化或渗碳化等材料的内部硬度。
产品参数
型号
HVS50Z(自动转塔)
试验力
1Kgf、5Kgf、10Kgf、20Kgf、30Kgf、50Kgf
转换标尺
洛氏、表面洛氏、布氏
测量范围
8-2900HV
*小测量单位
0. 0625μm (20倍物镜);0.125μm (10倍物镜)
试验力保荷时间
5~60s可调(每1秒为一单位)
测量精度
满足或高于GB/T4340.2
放大倍数
观察与测量100X 测量200X
数据输出
内置打印机输出
加荷控制
自动(加荷、保荷、卸荷)
仪器重量
约45kg
试件*尺寸
*高度165mm ,压头中心到内壁130mm
电源
AC220V±5%,50~60Hz
执行标准
GB/T4340.2*标准 JJG151规程
可选附件
XY工作台(定制)、CCD测量系统,努氏压头、细丝夹持台
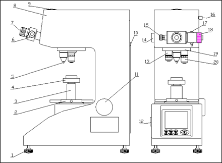
硬度计主机外形
硬度计外形
1.调节螺钉
2.旋轮
3.螺杆
4.试台
5.压头
6.目镜
7.眼罩
8.上盖
9.摄像盖板
10.后盖板
11.手轮
12.电源开关
13.10х物镜
14.灯源
15.左鼓轮
16.圆插座
17.测量按钮
18.右鼓轮
19.转塔
20.
20х物镜
操作面板
标准配置
名称
数量
名称
数量
仪器主机
1台
物镜20x、10x,
各1只
维氏压头
1只
砝码(30/50KG)
3只
维氏硬度块
2块
大、中、“V”试台
各1只
电源线
1根
10×测微目镜
1只
产品使用说明书
1份
产品合格证
1份