涡轮流量计说明书
涡轮流量计说明书简要描述:涡轮流量计说明书,液体涡轮流量计说明书,气体涡轮流量计说明书,一体式涡轮流量计说明书,分体式涡轮流量计说明书,插入式涡轮流量计说明书
涡轮流量计说明书

安装使用说明书
目 录
一、概述----------------------------------------------------1
二、XALWGY基本型涡轮流量传感器-----------------1
三、XALWGYA型涡轮流量变送器---------------------3
四、XALWGYB型现场显示涡轮流量计---------------5

本产品依据JB/T9246-1999机械行业标准设计制造
一、XALWGY涡轮流量计概述
1、XALWGY型涡轮流量传感器(以下简称传感器)可测量液体的流量。传感器具有准确度高、寿命长、操作维护简单等特点,广泛用于石油、化工、冶金、供水、造纸等行业,该流量计是节能的理想仪表。
2、传感器适用于测量与不锈钢1Cr18Ni9Ti、2Cr13及刚玉A1203、硬质合金不起腐蚀作用,且无纤维、颗粒等杂质的液体。
3、传感器适用于在工作温度下粘度小于5×10-6m2/s的介质,对于大于5×10-6m2/s的液体,要对传感器进行实液后使用。
4、传感器的型号规定

5、如用户需用特殊型式的传感器,可协商订货,需防爆型传感器时,在订货中加以说明

二、XALWGY基本型涡轮流量传感器
1、工作原理
被测液体流经传感器时,传感器内叶轮借助于液体的动能而旋转。此时,叶轮叶片使检出装置中的磁路磁阻发生周期性变化,因而在检出线圈两端就感应出频率与流量成正比的电脉冲信号,经放大器放大后远传输出。
在测量范围内,传感器的流量脉冲频率与体积流量成正比,这个比值即为仪表系数。用K表示。

式中:
f—流量信号频率(Hz)
Q—体积流量(m3/h或L/h)
N—脉冲数
V—体积量(m3或L)
每台传感器的仪表系数由制造厂填写在证书中。K值设入配套的显示仪表中,便可显示出瞬时流量和体积量。

2、XALWGY涡轮流量计主要技术参数
2.1、基本参数:见表一
2.2、介质温度:-20~+120℃
产品型号
| 公称通径 (mm) | 流量范围 (m3/h) | *工作 压力(MPa) | 安装 形式 | 准确度 |
XALWGY-4
| 4 | 0.04~0.25 | 6.3 | 螺纹 | 0.5-1 |
XALWGY-6
| 6 | 0.1~0.6 | 6.3 | 螺纹 | 0.5-1 |
XALWGY-10
| 10 | 0.2~1.2 | 6.3 | 螺纹 | 0.5-1 |
XALWGY-15
| 15 | 0.6~6 | 6.3 | 螺纹 卡箍 法兰 | 0.5-1 |
XALWGY-20
| 20 | 0.8~8 | 6.3 | 螺纹 卡箍 法兰 | 0.5-1 |
XALWGY-25
| 25 | 1~10 | 6.3 | 螺纹 卡箍 法兰 | 0.5-1 |
XALWGY-32
| 32 | 1.5-15 | 6.3 | 螺纹 卡箍 法兰 | 0.5-1 |
XALWGY-40
| 40 | 2~20 | 6.3 | 螺纹 卡箍 法兰 | 0.5-1 |
XALWGY-50
| 50 | 4~40 | 2.5 | 螺纹 卡箍 法兰 | 0.5-1 |
XALWGY-65
| 65 | 5-50 | 2.5 | 法兰 | 0.5-1 |
XALWGY-80
| 80 | 10~100 | 2.5 | 法兰 | 0.5-1 |
XALWGY-100
| 100 | 20~200 | 2.5 | 法兰 | 0.5-1 |
XALWGY-150
| 150 | 30~300 | 2.5 | 法兰 | 0.5-1 |
XALWGY-200
| 200 | 80~800 | 2.5 | 法兰 | 0.5-1 |
2.3、环境温度:-20~+50℃
2.4、供电电源:电压:12V+10%,电流:≤10mA
2.5、输出电压幅值:高电平≥8V,低电平≤0.8V。
2.6、传输距离:传感器至显示仪表的距离可达1000m
3、XALWGY涡轮流量计结构与安装
3.1、结构

1.过滤器 2.前直管段 3.叶轮 4.前置放大器 5.壳体 6.后直管段
图(一) XALWGY—4~10传感器结构及安装尺寸示意图

1. 压紧圈 2.螺栓4×14 3.垫圈 4.密封垫圈
5.钢丝1Cr18Ni9Ti-0.8×2.5 6.过滤网 7.座
过滤器结构图

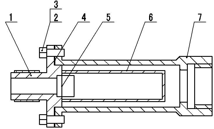
1. 壳体 2.前导向件 3.叶轮 4.后导向件 5.前置放大器

图(二) XALWGY—15~40传感器结构及安装尺寸示意图
3.2、安装
3.2.1传感器的安装方式根据规格不同,采用螺纹或法兰连接,安装尺寸见表2.
表二

3.2.2传感器可水平、垂直安装。垂直安装时流体方向必须向上。液体应充满管道,不得有气泡。
3.2.3安装时,液体流动方向应与传感器外壳上指示流向的箭头方向一致,传感器上游端至少应有20倍公称通径长度的直管段,下游应不少于5倍公称通径的直管段。
3.2.4传感器应远离外界电场、磁场,必要时应采取有效的屏蔽措施,以避免外来干扰。
3.2.5为了检修时不致影响液体的正常输送,建议在传感器的安装处,安装旁通管道。(如图四)
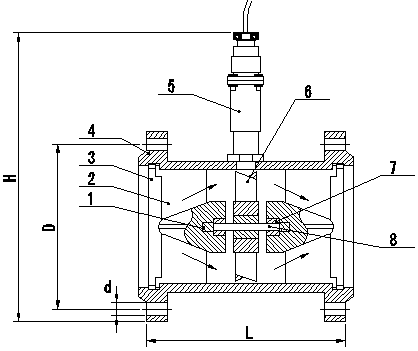
1. 球轴承 2.前导向件 3.涨圈 4.壳体
5.前置放大器 6.叶轮 7.轴承 8.轴
图(三) XALWGY—50~200传感器结构及安装尺寸示意图
图(四)传感器安装示意图
3.2.6传感器露天安装时,请做好放大器及插头处的防水处理。
3.2.7传感器与显示仪表的接线,如图五所示。
4、XALWGY涡轮流量计使用和维护
使用注意事项
4.1使用时,应保持被测液体清洁,不含纤维和颗粒杂质。
4.2传感器在开始使用时,应先将传感器内缓慢的充满液体,然后再开启出口阀门,严禁传感器处于无液体状态时受到高速流体的冲击。
4.3传感器的维护周期一般为半年、检修清洗时,请注意勿损伤测量腔内的零件,特别是叶轮。装配时请看好导向件及叶轮的位置关系。
4.4传感器不用时,应清净内部液体,且在传感器两端加上防护套,防止尘垢进入,然后置于干燥处保存。
4.5配用的过滤器应定期清洗,不用时,应清净内部的液体,同传感器一样,加防尘套,置于干燥处保存。
5、保修期限
5.1、在用户遵守说明书的规定进行保管和使用的情况下,从制造厂发货日起一年内,传感器制造不良以致不能正常工作时,制造厂可免费修理。
5.2、传感器的维护周期不应过半年。
6、开箱注意事项
6.1、开箱后,按装箱单检查文件和附件是否齐金。
6.2、观察传感器是否有因运输而产生损坏等现象,以便妥善处理。
6.3、望用户妥善保存“证书”切勿丢失,否则无法设定仪表系数!
表3 传感器可能产生的一般故障及消除方法

三、XALWGY—A型涡轮流量变送器
XALWGYA型涡轮流量变送器是在LWGY基本型涡轮流量传感器的基础上增加了4-20mA
两线制电流变送功能,特别适合于与工控机,DCS等计算机控制系统配合使用。
本变送器各口径的流量测量范围,传感器结构尺寸,安装方法,维护等内容请阅读本说明书第二部分“XALWGY基本型涡轮流量传感器”
流量计算公式:
式中:Q—实测流量,m³/h
QF—流量测量上限值,m³/h,见表达1
I—电流输出,mA
变送器供电电压:24V,(12V-30V)
供电电压与负载电阻关系:
式中:RLMAX—*载电阻,Ω
U—供电电压,V
变送器接线:红线—24V+
黑线—0V
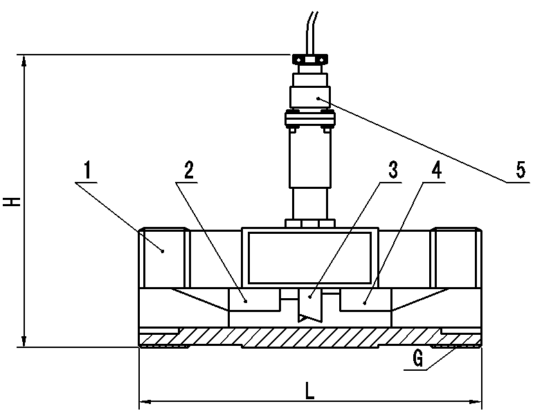
四、XALWGY—B型现场显示涡轮流量计
XALWGYB型现场显示涡轮流量计是在LWGY基本型涡轮流量传感器的基础上,采用电池供电,增加了现场显示功能。该流量计是采用*的低功耗单片微机技术研制的传感器与显示积算一体化的*流量测量仪表。与传统的涡轮流量传感器配二次仪表组成的测量系统相比,它具有体积小、重量轻、显示读数直观、清晰、可靠性高、不受外界电源影响、抗雷击、成套成本低等明显优点。可广泛应用于石油、化工、轻工、食品等行业的液体流量测量。本产品性能优越,达到国际同类产品的*水平。
本流量计各口径的流量测量范围,传感器结构尺寸,安装方法,维护等内容请阅读本说明书第二部分XALWGY基本型涡轮流量传感器。
1、功能
1.1 显示功能
累积流量和瞬时流量。
1.2 操作
同时按“ → ”和“F”两键,液晶显示*点系数。(为10%流量系数),然后依次按“F”键,液晶显示2、3、4。其中2为50%流量系数,3为*流量系数,4为4-20mA*流量。
1.3 液晶显示的每点系数
上行为该点的脉冲数/秒,下行为该点的脉冲数/立方米。
1.4 电源
现场指示为3.6V,防爆锂电池。远传24V(4-20mA)引出接线。
红为正数,蓝为负数。
