IMAV节流阀 RVPS-12-N-K-O

产品介绍:
互换-反向-阀门 CETOP 5
(夹板) 从A+B外接 到LS
RLSZ-10.-B02
产品资料
大小为NG-6, NG-10, NG-16 和 NG-25,功能远远出了标准功能。
上论是控制块、夹板还是连接锁链散件或内螺纹阀门,使用的都是市场上常见的销钉,方便灵活使用。
在IMAV公司目录中收录的标准件,例如夹板、连接锁链系统、安装板以及内螺纹阀门,都有现货。这些产品质量过硬,应用灵活,适用于设备制造、工具机械制造以及移动液压以及工业液压装置。
IMAV液压器械有限责任公司有能力自行大容量1000升的液压装置,单个液压泵大功率可达30 kW.
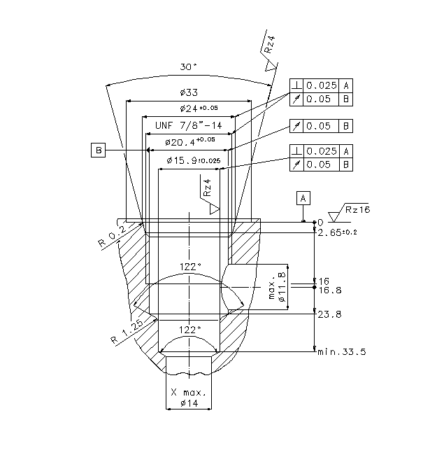
尺寸图

IMAV节流阀 RVPS-12-N-K-O