上海自动化仪表三厂WZP-93C1套管式热电阻

发布时间:2018-02-14

产品简介

上海自动化仪表三厂的套管式热电偶、热电阻作为温度测量和控制的传感器与显示仪表配套,仪直接测量和控制生产过程中气体,液体和蒸汽的温度,不仅用于发电厂管道测温,同时也可用于其它工业部门的测温。

主要技术参数

工作原理

热电阻是利用金属导体的电阻值随温度变化而变化的特性来测量温度的。热电阻的受热部分(感温元件)是用金属丝均匀地双绕在绝缘材料制成的骨架上而制成的。当被测介质有温度阶梯存在时,所测得的温度是感温元件所在范围内介质的平均温度。为了适应工业需求的多样化,现在已开始采用镍、锰等材料制造热电阻。热电阻通常需要把电阻信号通过引线连接到显示仪表,记录仪表或计算机上。

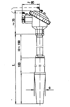
安装图片

欢迎咨询订购上海自动化仪表三厂产品

电话:

传真:

网址:www.shziyi3c.com

QQ:81001685

上一篇:PV5G-6-FHG-D-1S...
下一篇:纯电动力汽车结构与控制技术