丹佛斯 高压水泵
宁波思承、特惠供应进口丹佛斯APP、PAH水泵、CAT水泵、格兰富GRUNDFOS、WATER、台湾河见HCP水泵等水泵!用于高压清洗 海水淡化 污水处理行业

丹佛斯 APP 泵专为逆向渗透设计
丹佛斯 PAH 高压泵专门为自来水应用设计
丹佛斯 PAH F 高压泵专门为自来水应用设计
丹佛斯的高压泵、PAHT 泵和 PAHT G 泵为纯水用高压泵
丹佛斯CLP 675 计量高压泵适用于陆地、近海、水下和石化环境
丹佛斯CLP 674 多功能化工液体泵适用于陆地、近海、水下和石化环境
丹佛斯 CLP 非-API 泵非常适合用在陆地、近海、水下和石化环境
丹佛斯 APP S 674 泵专为近海海水淡化应用设计


丹佛斯 APP系列泵广泛应用于全球反渗透脱盐工程:
1、岛屿及沿海酒店、度假村、村落的集装箱等
2、丹佛斯高压泵APP人道主义组织和军事组织的移动系统
3、船舶和游艇的船用系统
4、石油天然气行业的海上平台
5、市政和区域的自来水厂


行业:中小型脱盐厂 中小型海水淡化厂
交货周期:很短,大项目也仅大约2-4个月
用途:污水泵
材质:双相钢
泵轴位置:卧式
驱动方式:电动
型号系列:APP
APP0.6、APP1.0、APP1.5、APP1.8、APP2.2、APP2.5、APP3.0、APP3.5、APP5.1、APP6.5、APP7.2、APP8.2、APP10.2、APP21、APP24、APP26、APP30
原理:真空泵
性能:自动
介质:海水 污水 苦咸水,无需润滑油
应用:低粘度流体和腐蚀性流体的反渗透系统 海水淡化
适用于反渗透系统、石油和天然气、纯水和生活用水。
流量范围:从0.15到31m3/h(0.7~136gpm)
生产标准:ISO14001、ISO9001 和 OHSAS18001
经过欧洲防爆产品(ATEX),适用于各种易爆环境
产品优点:
1、体积小 重量轻,
2、效率高,能耗低,
3、脉冲小,无阻尼,
4、无需预防性维护
5、寿命长
泵型 |
维护周期 |
效率 |
压力脉冲 |
能耗KWh/吨给水流量 (假设APP=100) |
拥有成本/1年 (假设APP=100) |
APP | 8000h | >90% | <2% | 4.9(100) | 100 |
传统柱塞泵 | 1000h | 80-85% | 15% | 5.3(108) | 116 |
离心泵 | 8000h | 50-70% | 0% | 7.82(159) | 157 |
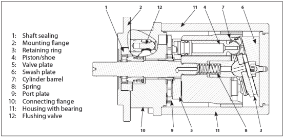
丹佛斯走在轴向柱塞泵技术的前沿,多年来攻克了一个个液压应用的难题。凭借过 15 项、深厚的精工研发经验,以及的 Duplex、Super Duplex 和碳基增强型 PEEK 制造工艺,丹佛斯设计并生产着的轴向柱塞泵供逆向渗透使用。泵可按照欧洲防爆产品(ATEX)和 API 674 标准定制。
APP泵专供路基和近海的海水淡化应用,效率业界高。优点:设计紧凑、运转时间长、稳定性高,中小型脱盐厂。
普通型 | 防爆型 | 流量cm³/rev | 重量 |
APP 0.6 180B3048 | APP 0.6 180B3148 | 4.07 | 5.2kg |
APP 0.8 180B3037 | APP 0.8 180B3137 | 5.08 | 5.2kg |
APP 1.0 180B3049 | APP 1.0 180B3149 | 6.3 | 5.2kg |
APP 1.5 180B3043 | APP 1.5 180B3143 | 9.31 | 8.6kg |
APP 1.8 180B3044 | APP 1.8 180B3144 | 10.04 | 8.6kg |
APP 2.2 180B3045 | APP 2.2 180B3145 | 12.52 | 8.6kg |
APP 2.5 180B3046 | APP 2.5 180B3146 | 15.35 | 8.6kg |
APP 3.0 180B3030 | APP 3.0 180B3130 | 17.7 | 8.6kg |
APP 3.5 180B3032 | APP 3.5 180B3132 | 20.54 | 8.6kg |
APP (W) 5.1 180B3005 | APP (W) 5.1 180B3105 | 50.2 | 30kg |
APP (W) 6.5 180B3006 | APP (W) 6.5 180B3106 | 63.3 | 30kg |
APP (W) 7.2 180B3007 | APP (W) 7.2 180B3107 | 70.3 | 30kg |
APP (W) 8.2 180B3008 | APP (W) 8.2 180B3108 | 80.4 | 30kg |
APP (W) 10.2 180B3010 | APP (W) 10.2 180B3110 | 100.5 | 30kg |
APP 11/1200 180B3212 | APP 11/1200 180B3222 | 166.4 | 78kg |
APP 11/1500 180B3211 | APP 11/1500 180B3221 | 137.4 | 78kg |
APP 13/1200 180B3214 | APP 13/1200 180B3224 | 197.5 | 78kg |
APP 13/1500 180B3213 | APP 13/1500 180B3223 | 166.4 | 78kg |
APP 16/1200 180B3254 | APP 16/1200 180B3264 | 234.6 | 78kg |
APP 16/1500 180B3250 | APP 16/1500 180B3260 | 188.3 | 78kg |
APP 17/1200 180B3255 | APP 17/1200 180B3265 | 253.3 | 78kg |
APP 17/1500 180B3251 | APP 17/1500 180B3261 | 197.5 | 78kg |
APP 19/1200 180B3256 | APP 19/1200 180B3266 | 272.3 | 78kg |
APP 19/1500 180B3252 | APP 19/1500 180B3262 | 219.7 | 78kg |
APP 22/1200 180B3257 | APP 22/1200 180B3267 | 310.6 | 78kg |
APP 22/1500 180B3253 | APP 22/1500 180B3263 | 253.3 | 78kg |
APP 21/1200 180B3051 | APP 21/1200 180B3151 | 308.5 | 105kg |
APP 21/1500 180B3052 | On request | 256 | 105kg |
APP 24/1200 180B3054 | APP 24/1200 180B3154 | 362 | 105kg |
APP 24/1500 180B3055 | APP 24/1500 180B3155 | 282 | 105kg |
APP 26/1200 180B3056 | On request | 389 | 105kg |
APP 26/1500 180B3057 | On request | 308.5 | 105kg |
APP 30/1200 180B3060 | On request | 444 | 105kg |
APP 30/1500 180B3062 | On request | 362 | 105kg |
APP 38/1500 180B3071 | On request | 444 | 105kg |
APP 43/1700 180B3072 | Not available | 444 | 105kg |
宁波思承流体技术有限公司经营的国外进口优势有:德国博世力士乐(Bosch-Rexroth)、美国派克(parker)、德国穆格(MOOG)、德国施耐德()、美国威格士(vickers),哈威、德国贺德克(HYDAC),法国施耐德(), 德国西门子(Siemens),法国力度克LEDUC、德国福伊特VOITH、丹麦丹佛斯DANFOSS、丹麦格兰富GRUNDFOS水泵、意大利OMFB等等众多。
丹佛斯高压水泵
丹佛斯高压水泵