TRD710超声波物位计
产品简介
TRD710超声波物位计(测量料位,液位),是一种非接触式、高可靠性、高、易安装维护的物位测量仪器。它不必接触介质就能满足大部分物位测量要求,利用发射超声波经物位或液位,反射后所需要的时间来计算距离。因其不接触介质,安装维修方便等性能在如今的工业现场应用越来越多。可广泛应用于各种液体和固体物料高度的测量。
主要技术指标:
量 程:5米、10米、15米、20米、30米、40米、50米、60米
测量精度:0.5%-1.0%
分辨率:3mm或0.1%(取大者)
显 示:中文液晶显示
模拟输出:4线制4~20mA/510Ω负载
2线制4~20mA/250Ω负载
继电器输出:可选配2组AC 250V/ 8A
或DC 30V/ 5A 状态可编程
供 电:标配24VDC
可选 220V AC+15% 50Hz
环境温度:显示仪表-20~+60℃,
探头-20~+80℃
通 信:可选485,232通信(厂家协议)
防护等级:显示仪表IP65,探头IP68
探头电缆:一体式无线缆,分体式标配10米
探头安装:根据量程和探头的选型
技术特点:
1、高量程范围:量程范围更广,总线大可达60m
2、高清晰双显示:物位/液位同时显示观察更加方便
3、便捷调节:三挡响应速度可调,满足不同工况多种需求
4、三大核心技术:回波处理技术,数据更真实;声学匹配技术,信号辐射更;多点发射电路,测量结果更可靠。
调试
由于仪表现场安装环境不同的。因此超声波物位计在工作之前必须知道所需测量的基本情况,比如:测量范围、零点、满程和现场工况等等。因此在测量之前必须对仪表进行设置。
其他: 探头选择、参数校正、算法选择这三个项目请不要自行修改。
安装指南
理解术语
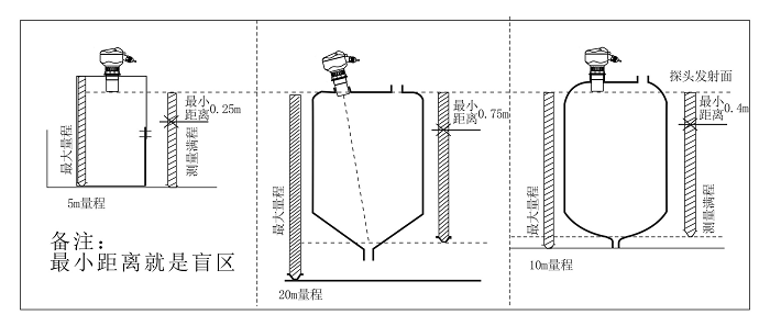
①量程:在进行仪表选型的时候,量程的含义是很重要的,请看下面的示意图。
②发射角和虚假回波
超声波波速通过探头聚焦,脉冲波速的发射就好像手电筒的光速一样,离探头越远的地方,扩散面积就越大。
在发射角内的任何物体,如:管道、支架、焊缝、加强筋、搅拌螺旋桨、挂壁的物体,都会造成很强的虚假回波,特别是发射角内距离探头较近的物体。
例如:在距离探头6米处的管道造成的虚假回波要比距离探头18米处同样管道造成的虚假回波强9倍。尽量使传感器的轴线垂直于介质表面,并且避免在发射角内有任何其他物体。如:管道和支架等。
选型指南:
|
选型表 |
选型示例:TRD710/1V1AM( )-20m |
||||||||||
|
TRD710 |
/□ |
□ |
□ |
□ |
-□ |
□ |
|||||
|
仪表样式 |
1 |
一体四线制 |
|||||||||
|
2 |
一体两线制 |
||||||||||
|
3 |
分体式 |
||||||||||
|
供电电源 |
V1 |
24VDC |
|||||||||
|
V2 |
220VAC |
||||||||||
|
信号输出 |
A |
4-20mA |
|||||||||
|
R |
RS485 |
||||||||||
|
连接方式 |
M() |
螺纹连接,(注明尺寸) |
|||||||||
|
|
F() |
法兰连接,(注明尺寸) |
|||||||||
|
测量范围 |
- H(m) |
0-5.10.0米 |
|||||||||
|
附加功能(可不选) |
N |
防腐 |
|||||||||
|
J2/J4 |
两路继电器/四路继电器 |
||||||||||

