混凝土应变计

发布时间:2017-04-21

混凝土应变计的报价  混凝土应变计的方案  混凝土应变计的生产厂家



9000振弦式支撑应变计的观测应用是在水平支撑型钢的梁腹左右两侧装设振弦式应变计,当支撑型钢受力时,应变计随之产生应变,由此应变量工程人员可以计算出作用于支撑的应力。

1-1  9000系列振弦式支撑应变计结构示意图

2、技术参数

 型号规格

9000

9050

测量范围

3000με(微应变)

非线性

<0.5% F.S

灵敏度

1με(微应变)

热敏电阻

3KΩ

感应频率范围

450~1000Hz

产品全长

170mm

265mm

操作温度

-20℃至+80

21  9000型振弦式支撑应变计技术参数

北京华鉴科技有限公司

联系人:郑隆刚

联系电话:13810572716

地址:北京市海淀区清河三街95号同源大厦632室

3、安装 

3.1 仪器的安装

仪器安装就位后,应记录读数、位置和编号(编号由用户自己确定)。如需调整,应小心进行,以使仪器监测范围符合设计要求。

3.2 初步检查验收

在验收时使用读数仪对仪器的读数进行检查,此外仪器在运输中会因挤压振动的作用读数会偏离这个范围,这并不影响仪器的使用。同时由于仪器两端未固定,传感器自由状态下的读数可能表现不稳定,这是正常的,仪器安装固定后读数即会稳定。

3.3 电缆线的加长

因为振弦仪器的输出信号是频率,所以电缆电阻细微的变化、电缆的连接加长,不会影响读数仪对仪器的读数。标准钢筋计在出厂时配备2m 电缆,安装前,需根据现场情况进行连接加长。埋设在土体中的电缆应尽可能避免接头。如无法避免电缆连接,应采用防水接头,采用ES3 型热缩接头,也可使用环氧接头,如3M ScotchcastTM 82-A1 型电缆接头。

用于连接的电缆应是高质量的屏蔽的绞合电缆(带有整体屏蔽的抗干扰芯线)。连接时,屏蔽线(裸线)也应焊接到一起并引到接地点。下面详细介绍使用ES3 型热缩接头的接线方法。

焊接前用万用表测量传感器芯线间电阻数值并记录。其中红黑芯线电阻通常为180± 10.左右;绿白芯线电阻在室温25℃时应为3k.左右;红黑线对绿白线以及对屏蔽线(裸线)间绝缘电阻应>50M.(测量绝缘电阻应使用100V 直流兆欧表。万用表测量电阻时应为∞)。

焊接前将电缆端部剥除外皮,长度约8cm,露出芯线,在剩余电缆外皮部位用砂布或砂纸打毛,长度约3cm。电缆外面套φ 12mm 热缩套管(长度约14cm)。用剥线钳将芯线剥除0.50.8cm 芯线外皮,芯线上套φ 2mm 热缩套管。芯线对应颜色对接并拧在一起后,用电烙铁焊锡。焊锡过程应避免虚焊并去除毛刺。5 根芯线均需焊接,焊接时注意:1、将各个芯线接头错开;2、 保证各芯线长度一致,以保证电缆受拉时,各芯线能均匀受力。焊接结束后,裸露芯线长度大约为7cm 左右。焊接结束后,将φ 2mm 热缩套管推至芯线接头部位,用热风枪将热缩套管热缩于接头部位。后将φ 12mm 热缩套管推至电缆接头部位,用热风枪将热缩套管热缩于接头部位。φ 12mm 热缩套管每端均应压在传感器电缆外皮3cm 左右。使用热风枪吹热缩套管时应控制温度,必须使热缩套管内部的热熔胶融化呈透明、流动状态,完全充满接头内部。温度过高会使芯线外皮融化,造成芯线短路,也会造成热缩套管碳化变脆。

注意:芯线焊接工作结束后,必须用读数仪进行读数测量检查,并使用万用表测量各芯线间电缆电阻情况。避免因焊接工作造成接头部位芯线短路、断路情况。

3.4 应变计的安装

9000系列应变计通常用于测量结构表面的应变。在钢结构上安装时,通常采用焊接安装块的方式。传感器体不能通过焊接电流,否则将造成传感器的损坏。因此,传感器的安装应在焊接工作全部完成后进行。可利用一个根据仪器尺寸制作的安装杆定位和焊接安装块(安装杆可使用外径12mm 的钢筋制作或车削,要求长度不低于165mm,外表通直光滑)。安装块是成对提供的,其中带有锥尖固定螺钉,焊接表面应清理干净,焊接部位及顺序如图3-2 所示:

3-2 安装块的焊接顺序及部位示意图

 

焊接时应避免过热,不能焊接平直端面,否则将影响仪器的拆装。焊接完成后,使用适当方法对安装块降温并去除焊渣,并检查调整两端块是否同心。拆下安装杆,安装仪器。如下列图示:

穿入应变杆,套上线圈并固定卡箍。



先将应变计有V型槽的一端用螺钉固定,调节另一端使之达到预期的初始读数,后用螺丝固定。

如果仪器需要保护,可在仪器安装之前焊接固定螺栓,用于安装保护罩。固定螺栓与应变计的距离要150mm。如下图所示:

1、保护罩  2、螺栓 3、应变计 4、应变计激励线圈 5、应变计安装块 6、仪器电缆 7、保护管管接头 8、柔性保护管

应变计的保护罩由用户自行加工,使用直径不小于f90mm、长度约为 500mm 的钢管从中间剖开为两块,形成半圆的瓦形结构,将两端点焊在应变计外面的结构上,或在四角焊接安装挂耳,用螺栓固定在混凝土结构上。

3-2 应变计保护罩示意图

9000系列应变计还可以测量混凝土表面的应变。可用以下方法将应变计安装到混凝土表面上:

1) 安装块上焊好锚头(锚头可使用810mm  螺纹钢,长度  6080mm),利用安装杆定位,在合适的位置钻出两个 7090mm 深的孔。孔的小直径为 12 mm,将锚头用速凝砂浆或环氧固定在钻孔中。如图3-3所示:

3-3 头在混凝土上安装

2) 要保护措施完善,标准的安装块也可用粘合剂直接粘合到混凝土表面上。如果采用这种方法,清除安装部位砂粒等杂物,并清洗干净。使用安装杆定位,用环氧直接将安装块粘结到

3.5 应变计的调节

安装块固定到位之后,拆下安装杆,装上仪器和线圈,将仪器固定端螺钉拧紧(锥尖固定螺钉应拧到仪器有槽端块的槽内)。用读数仪监测,对仪器进行调节。如果仪器设计用于测量拉应变,可将应变计活动端向内轻压(应避免相对扭转,以免损坏应变计),将读数调整到 650左右。如果仪器设计用于测量压应变,可将应变计活动端向外轻推,将读数调整到950左右。调整完毕后,将自由端固定。仪器的初始读数调节取决于现场的实际要求,上述读数仅供用户参考。

3.6 注意

3

3.6 注意事项

事项

电缆可以直接浇筑于混凝土中。为了更好的保护电缆,好使用电缆保护管。电缆的敷设应远离电噪源,如动力线、发电机、电机、变压器、弧焊机等。

4读数与计算

4.1 读数和计算

9000应变计可使用读数仪或自动采集仪采集。

测量和数据处理的基本单位是  "Digit 即模数(字)"。 模式和频率的换算公式

模数 = Hz² /1000

 应变计算公式如下:

με(应变)=G×C×(R1- R0)

其中:G  - 为仪器标准系数

C  - 为平均修正系数

R1 - 为当前读数(字)

R0 - 为初始读数(字)

仪器的温度系数及温度系数修正可参考率定表进行。

如果应变计安装在钢结构上,传感器的钢弦与钢结构具有相同的温度膨胀系数 12.2με/℃,通常不必修正。

如安装在混凝土的表面,则按如下方式计算:

με(微应变)=G×C×(R 1 R  0)(Y  1Y  2)×(T 1T 0)

上式中,Y1 - 为钢弦的膨胀系数,12.2με/℃;

Y2 - 为混凝土的温度膨胀系数,不同的混凝土膨胀系数不同,一般取实测值或设计值;

T1 - 当前温度

T0 - 初始温度

与其他常规仪器不同,9000 的仪器率定采用批检工艺,因此向用户提供的率定表为每批一份,即每批仪器均使用同一率定系数即平均修正系数进行数据的计算转换,除非特殊订制的仪器才有可能每支仪器对应一张率定表

4.2 应力应变转换

尽管应变计测量的是应变或结构的变形,但设计者更倾向于测量结构荷载或应力,这就要求将所测应变转换为应力。假设结构变形为弹性变形,并忽略弯矩的影响时:

应力=应变 × 弹性模量 E

如果要把弯矩的影响也考虑进去,应沿结构轴线均匀布置多只仪器。在柱形桩支撑上,围绕支撑每隔 120,设置三支应变计即可(4 支更好)。H 形桩或I形梁,至少需要 4 支应变计。在钢板桩上,需要两支应变计对称地安装在桩的两侧。当钢构件弯曲并且只有前表面可以接触到时,如隧道钢板衬砌或钢板桩的外部,可通过在距中性轴不同距离处安装两支振弦式应变计测出弯矩。

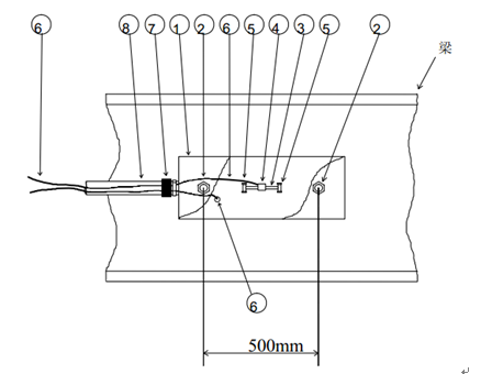
参照图4-1-A I 字梁的例子,四支应变计(123 4)每两支背对背地焊在中央I字梁腹。

应变计位于高于 I 字梁腹中央的高度(d),两组应变计相距(2c),I字梁有两个凸缘,宽为 2b,梁腹深为 2a

轴向应力通过四支应变计的平均应变数并乘以弹性模量而得出。

弯矩是通过计算安装在中性轴的相对两支应变计的读数的差计算得出的,yy 轴大弯矩为:

xx 轴大弯矩为:

在以上所有计算中,一定要注意应变正负号。

注意:交叉部分任意一点的应变为弯矩应变和轴向应变的代数和。通过观察可知,凸缘外角处的应变要大大高于梁腹处的应变,局部的故障可能从这些部位开始。因此,弯矩的分析显得非常重要。

通过以上分析,我们可以得出,要得到的读数,好是把应变计焊接于翼缘转角处,如图4-1-B。但把应变计焊于此也有很大缺点,即仪器保护变得困难,电缆易受损伤,而且实际应用中又会引起另一更为严重问题:应变计受到弯矩的影响较大。因此,把应变焊接在I梁腹中性轴的两侧更为适当,仪器的保护也比较容易,如图4-1-A

4-1 安装不同位置的应变计示意图

如果由于经济的原因,决定每个横剖面上只用 2 只仪器,那么如图4-1-C 的布置可以给出轴向应变和绕 YY 轴的弯矩。

这类布置有这个优点,即仪器和电缆容易保护。实际上来自仪器的电缆可以通过腹板上钻出的孔,以便两根电缆经一根导管,这样易于保护。

两个仪器的其它布置,也已的用过,如图4-1-D 所示。

这种布置可以计算出轴向应变和绕 XX 轴的弯矩,其缺点在于仪器暴露在法兰的外侧,这将要求对仪器和电缆采取较大程度的保护。

5、故障排除

如果装置读数出问题,应采取以下步骤:

1、检查线圈电阻,正常情况下线圈电阻是 180±10Ω加上电缆电阻。(标准 22 号规格的铜导线电阻:约为 50Ω/km

a)  如果电阻太大或无穷大,应判断电缆断路。

b)  如果电阻太低或接近于 0,则应判断是短路。

c)  如果电阻正常而任何一个传感器都没有读数,应怀疑是读数仪有问题,这时应向厂家咨询。

d)  如果所有的电阻都正常仅其中一个传感器没有读数,就应怀疑此点传感器有问题,这时也应向厂家咨询。

2、如果发现电缆是断路或短路,可按的电缆连接步骤重新接上。

北京华鉴科技有限公司版权所有Copyright ©2013

本仪器的安装、维护、操作都要由技术人员进行。Geostar对产品有更改的权利,产品更改信息恕不另行通知。 

电缆可以直接浇筑于混凝土中。为了更好的保护电缆,好使用电缆保护管。电缆的敷设应远离电噪源,如动力线、发电机、电机、变压器、弧焊机等。


北京华鉴科技有限公司版权所有Copyright ©2013

本仪器的安装、维护、操作都要由技术人员进行。Geostar对产品有更改的权利,产品更改信息恕不另行通知。 




上一篇:回收泰克MDO4024C
下一篇:150kg/10g计重台称