TRD-SH1024A

发布时间:2025-05-08

湖北开航精工制造旋转编码器,TRD-SH1024A旋转编码器坚固耐用,结构紧凑,测量精度高,品质优越,高,可靠耐用,价格实惠,值得广大用户信赖!

TRD-SH1024A

旋转编码器TRD-SH
外观 φ38×30mm 
实心轴轴径:φ6mm 
空心轴轴径:φ8mm  
分辨率 10~2500脉冲/转 
输出信号形式 A·B两相+Z相 
*相应频率 200kHz 
容许*转速 6000rpm 
电源电压 TRD-S/SH□A: DC(5~12V) ±10% 
TRD-S/SH□B: DC(12~24V) ±10% 
TRD-S/SH□V: DC 5V ±5%  
输出形式 集电极开路输出 
线驱动输出 
荷重 径向:20N 
轴向:10N 
起动扭矩 ≤0.001N·m 
防护等级 简易防尘型:IP40 
使用环境温度 -10 ~ +70℃ 
TRD-SH1024A

TRD-SH1024A旋转编码器的型号说明:

TRD-SH1024A

TRD-SH1024A旋转编码器的外形尺寸图:

TRD-SH1024A

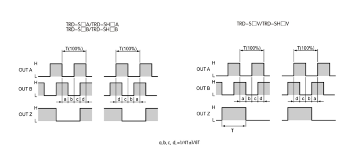
TRD-SH1024A旋转编码器的输出波形:

TRD-SH1024A

TRD-S实心轴编码器
TRD-S10A、TRD-S10B、TRD-S10V、TRD-S20A、TRD-S20B、TRD-S20V、TRD-S30A、TRD-S30B、TRD-S30V、TRD-S40A、TRD-S40B、TRD-S40V
TRD-S50A、TRD-S50B、TRD-S50V、TRD-S60A、TRD-S60B、TRD-S60V、TRD-S100A、TRD-S100B、TRD-S100V、TRD-S200A、TRD-S200B、TRD-S200V
TRD-S250A、TRD-S250B、TRD-S250V、TRD-S300A、TRD-S300B、TRD-S300V、TRD-S360A、TRD-S360B、TRD-S360V、TRD-S400A、TRD-S400B、TRD-S400V
TRD-S500A、TRD-S500B、TRD-S500V、TRD-S600A、TRD-S600B、TRD-S600V、TRD-S800A、TRD-S800B、TRD-S800V、TRD-S1000A、TRD-S1000B、TRD-S1000V
TRD-S1024A、TRD-S1024B、TRD-S1024V、TRD-S1200A、TRD-S1200B、TRD-S1200V、TRD-S2000A、TRD-S2000B、TRD-S2000V、TRD-S2500A、TRD-S2500B、TRD-S2500V
TRD-SH空心轴编码器
TRD-SH10A、TRD-SH10B、TRD-SH10V、TRD-SH20A、TRD-SH20B、TRD-SH20V、TRD-SH30A、TRD-SH30B、TRD-SH30V、TRD-SH40A、TRD-SH40B、TRD-SH40V
TRD-SH50A、TRD-SH50B、TRD-SH50V、TRD-SH60A、TRD-SH60B、TRD-SH60V、TRD-SH100A、TRD-SH100B、TRD-SH100V、TRD-SH200A、TRD-SH200B、TRD-SH200V
TRD-SH250A、TRD-SH250B、TRD-SH250V、TRD-SH300A、TRD-SH300B、TRD-SH300V、TRD-SH360A、TRD-SH360B、TRD-SH360V、TRD-SH400A、TRD-SH400B、TRD-SH400V
TRD-SH500A、TRD-SH500B、TRD-SH500V、TRD-SH600A、TRD-SH600B、TRD-SH600V、TRD-SH800A、TRD-SH800B、TRD-SH800V、TRD-SH1000A、TRD-SH1000B、TRD-SH1000V
TRD-SH1024A、TRD-SH1024B、TRD-SH1024V、TRD-SH1200A、TRD-SH1200B、TRD-SH1200V、TRD-SH2000A、TRD-SH2000B、TRD-SH2000V、TRD-SH2500A、TRD-SH2500B、TRD-SH2500V

上一篇:慈溪西门子代理商-经销商代理...
下一篇:IC693BEM321详情