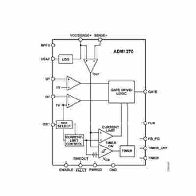
本产品是一款限流控制器,能够为模块化或电池供电系统提供浪涌限流和过流保护。 将电路板插入带电背板时,已放电电源旁路电容会从背板电源总线汲取大瞬态电流以便充电。 这种瞬态电流可能会导致连接器引脚性损坏,以及背板电源电压下降,进而引起系统中的其它电路板复位。

产品型号:ADM1270ARQZ-R7
产品名称:控制器
ADM1270ARQZ-R7应用
工业模块
电池供电/便携式仪器仪表
相关型号
AD9102 AD9910 AD9540 AD9833
AD9106 AD9911 AD9956 AD9834
AD9914 AD5932 AD9859 AD9851
AD9915 AD5930 AD9951 AD9835
AD9837 AD5933 AD9952 AD9832
AD9838 AD9958 AD9953 AD9831
AD9912 AD5934 AD9954 AD9830
AD9913 AD9959 AD9858 AD9850