安士能LCA-4TR-S1-14-310光幕的使用说明及特点


156606
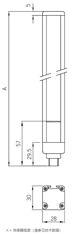
电梯光幕:
光幕由安装在电梯轿门两侧的红外发射器和接收器、
,发射接收管依次打开,自上而下连续扫描,在电梯
轿门区域形成一个密集的红外线保护光幕。当其中任
安装在轿顶的电源盒及柔性电缆四大部分组成。
它以非接触式完成电梯门的监控和动作功能。在发射
器内有32个(16个)红外发射管,在MCU的控制下
何一束光线被阻挡时,电梯轿门即停止关闭,并反转
开启,从而达到保护乘客的目的。
安士能 EUCHNER NZ1VZ-3131E3VSM09
安士能 EUCHNER NZ1VZ-528EL220-M
安士能 EUCHNER NZ1VZ-538E-MC2114
安士能 EUCHNER NZ1WO-528-M
TZ1RE024BHAVFG-RC1924
TZ1RE024BHAVFG-RC1971
TZ1RE024-C1527
TZ1RE024M
TZ1RE024M-089471
TZ1RE024M-C1623

TZ1RE024M-C1684
TZ1RE024M-C1815
TZ1RE024M-C1816
LCA-4TR-S1-30-1210-AP-156620
LCA-4TR-S2-14-310-AP-156621
LCA-4TR-S2-14-460-AP-156622
作用:
安全光幕也就是光电安全保护装置(也称安全保护器
、冲床保护器、红外线安全保护装置等)。 在现代
设备上,如冲压机械、剪切设备、金属切削设备、自
动化装配线、自动化焊接线、机械传送搬运设备、危
化工厂里,随着自动化水平的不断提高,人与机器协
同工作的几率大大增加。在一些具有潜在危险的机械
险区域(有毒、高压、高温等),操作人员因为与自
动化设备的协同不畅,收到人身伤害。
型号:
安士能 EUCHNER NZ1VZ-2131E3VSE09-M
安士能 EUCHNER NZ1VZ-2131E3VSM04
安士能 EUCHNER NZ1VZ-2131E-M
LCA-4TR-S2-14-610-AP-156623
LCA-4TR-S2-14-760-AP-156624
LCA-4TR-S2-14-910-AP-156625
LCA-4TR-S2-14-1060-AP-156626
LCA-4TR-S2-14-1210-AP-156627
LCA-4TR-S2-30-310-AP-156628
LCA-4TR-S2-30-460-AP-156629
LCA-4TR-S2-30-610-AP-156630
LCA-4TR-S2-30-760-AP-156631
LCA-4TR-S2-30-910-AP-156632
TZ1RE024M-C2082
TZ1RE024M-C2087
TZ1RE024M-C7
TZ1RE024M-R
TZ1RE024M-RC1635
TZ1RE024M-RC1712
TZ1RE024MVAB
TZ1RE024MVAB-10C-FW
安士能 EUCHNER NZ2DO-511SVM5
安士能 EUCHNER NZ2HB-528L060C1631
安士能 EUCHNER NZ2HS-528SVM5C1908
安士能 EUCHNER NZ2HS-538L060
安士能 EUCHNER NZ2RS-511SVM5L060GEC2273
安士能 EUCHNER NZ2VZ-538ESVM5
安士能 EUCHNER PS011-502
安士能 EUCHNER PWE0008BRG 058830 *NEU:074839*
安士能 EUCHNER PWG 56LP044420
安士能 EUCHNER PWG06A06B012RPST *NEU:073833*
LCA-4TR-3B-810-AP-156585
LCA-4TR-4B-910-AP-156586
LCA-4TR-2B-510-AP-156587
LCA-4TR-3B-810-AP-156588
LCA-4TR-4B-910-AP-156589
LCA-4TR-M-30-610-AP-156600
LCA-4TR-M-30-760-AP-156601
LCA-4TR-M-30-910-AP-156602
LCA-4TR-M-30-1060-AP-156603
LCA-4TR-M-30-1210-AP-156604
安士能 EUCHNER PWG06R10B012X024G20LP05
安士能 EUCHNER RADIUSBETAETIGER-X-OU-N
安士能 EUCHNER RC-12P1N8A8300
安士能 EUCHNER RGBF02D12-502AM-M
安士能 EUCHNER RGBF02R12-502LE060-M
LCA-4TR-M-14-310-AP-156590
LCA-4TR-M-14-460-AP-156591
LCA-4TR-M-14-610-AP-156592
LCA-4TR-M-14-760-AP-156593
LCA-4TR-M-14-910-AP-156594
LCA-4TR-M-14-1060-AP-156595
LCA-4TR-M-14-1210-AP-156596
LCA-4TR-M-30-260-AP-156597
LCA-4TR-M-30-310-AP-156598
LCA-4TR-M-30-460-AP-156599
安士能LCA-4TR-S1-14-310光幕的使用说明及特点