全新SMC锁水阀VXD252LZ2A产品说明
技术参数:
*低动作压力差:指主阀芯保持全开状态所需的*低的压力差(即一次侧与二次侧压力之差)。
*禁油处理:表示与流体接触的阀内的零部件经脱脂洗净处理。
*孔口直径:指控制流量的小孔直径。通常是指阀座上的开孔直径。
电气可选项 2A DC24V,DIN型插座式带过电压保护回路
其他可选项 - 低浓度臭氧脱离子水等对应(密封材质FKM):-;禁油规格:-;特殊螺纹:Rc,带快换管接头
安装可选项 - 无
特殊的导线引出方向 - 标准
尺寸-阀类型 5 尺寸:20A;阀形式:N.C.
本体材质-接管口径-孔口直径 L 阀体材质:C37;口径:3/4;孔口径:20
电压-导线引出方式 Z 其它电压及电气可选项
选用方法:
1)根据使用的工作介质选SMC流体阀的系列
2)根据几位几通的要求、阀的零位状态,电磁阀还是气控阀的要求,直动式还是先导式的要求和接管口径的要求等,选择阀的系列
3)确认流体阀使用的工作介质是否为适合流体。要查明阀体材质、密封件材质、线圈绝缘等级、静铁心及阀芯的支持座等的材料都能适应该流体,使用可燃性油和可燃性气体时,要注意阀的泄漏量是否符合要求。
4)确认动作压力差。
5)检查流量是否满足要求
全新SMC锁水阀VXD252LZ2A产品说明
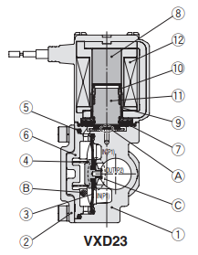
结构图:


| MGPM80-50Z |
| KQ2V04-01AS |
| M-5HL-4 |
| CY3R25-100 |
| VQ31A1-5GS-C10 |
| VX222AZ1BXNB |
| CG1BN25-125Z |
| CG1BN32-160Z |
| RBC1412S |
| CQ2B20-10D |
| CQ2B25-10D |
| CQ2B32-10DZ |
| SY5120-6LZD-01 |
| SY9120-6LZD-03 |
| RBC2015S |
| RBC1007S |
| CQ2B20-15D |
| CDG1BN40-160Z |
| CDG1BN32-125Z |
| CQ2B25-25D |
| CDG1BA40-75Z |
| CDG1BA25-150Z |
| VP3165-125DA1 |
| LVA200-02N-C |