中卫-风门闭锁BSQ-风门闭锁管定制厂家
他,湘潭经开区曾经构成了汽车及零部件、电子信息、先辈装备制作三大年夜主导家当,泰富重为园区装备制作业的企业,牢牢捉住“”等计谋,以湘潭九华为原点,迈向,走向,营业掩饰非洲、美洲、大年夜洋洲、西北亚等多个地区,是湖南省制作强省和实施“走出去”计谋的典范代表企业。
无压风门机械闭锁装置,风门闭锁器技术参数指标(无压风门机械闭锁装置-风门闭锁器)
无压风门机械闭锁装置的开启关闭通过钢丝绳传递给对面风门的插销装置,对面风门的开启。
该机械闭锁价格低廉,根据需要还可以。由于风门的“开启、关闭”信息是通过钢丝绳传递,所以两风门之间的距离不能过大,一般20m左右。无压风门机械闭锁装置-风门闭锁器
机械闭锁装置矿山井下风门所需的一种*闭锁器,它是一种纯机械式结构,不需要外部任何动力,外观小巧、美观、实用,风门闭锁器主要用于矿山井下两道风门之间的互锁,以防止巷道短路。

1、纯机械式无须任何动力,176H16502562mm运作可靠;
2、灵活,只要一道风门,另一道风门就已闭锁无法打开;
3、使用面广,它适用于矿山井下普通风门,带反向门的风门,正向风门,无压风门等;无压风门闭锁装置-风门闭锁器
4、设有紧急解锁机构,遇紧急情况可方便解锁,使两道风门可同时打开;
5、外观小巧,美观,安装方便。无严重滴水和溅水的;
有性气体()和煤尘的矿井。
风门机械闭锁装置主要技术参数
1、 箱体外形尺寸(长×宽×高):648×175×280mm;
2、 重量:25Kg;

无压风门机械闭锁装置,风门闭锁器,矿用风门机械闭锁器
全气动风门控制装置检测-气动全自动控制装置原理
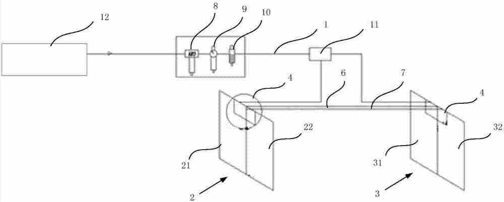
风门全气动开关控制装置(气动):
1、基本功能:用于煤矿井下风门的自动化控制,当过人或过车时,风门实现自动打开,自动关闭,两门间相互闭锁,同时有声光功能,提示风门未关等各种实时情况。全气动风门控制装置检测-气动全自动控制装置原理
2、当过人或过车时A门自动开启,B门关闭;人或车通过A门后,A门自动关闭,B门自动开启,同时伴有声光提示。
风门全气动开关控制装置 全气动风门控制装置检测-气动全自动控制装置原理
风门全气动开关控制装置

3、装置使用红外(对射)传感器,探测范围:≥6m
全气动风门控制装置检测,气动全自动控制装置
4、声:声级强度:大于等于80{dB(A)}
5、光:黑暗处光可见距离≥20m
6、控制功能:176m16502562mm当输入为高电平≥5V时,控制箱的输出为低电平(0~5)V,当输入为低电平≤1V时,控制箱的输出为高电平(24±0.5)V。

7、联锁功能:两装置之间能实现电气互锁,防止两个风门被同时被打开。
8、按钮控制:设置两个开关按钮,手动控制风门的开闭状态,A按钮控制A门的开闭状态,B按钮控置B门的开闭状态。 全气动风门控制装置检测-气动全自动控制装置原理