避难硐室防爆门与抗冲击波活门密闭门的结构解析

避难硐室防爆门产品详情:
避难硐室防爆门用于煤矿井下避难硐室过渡室与生存室之间。保护硐室内人员安全(一套两扇)。向外开启,起到能防水、防火、防冲击波的作用.避难硐室的两套门分为防水和防爆两种,防水压力可根据您的要求制作,防爆压力一般为0.3MPa,避难硐室常规尺寸有800*1600,800为宽度,1600为高度,尺寸都可以按照您的要求定做。避难硐室门有门扇、门框为平钢板、筋板、型钢等组焊而成;锁闭机构采用双道紧密锁;门枢采用推力球轴承,方便开启。
避难硐室防爆门产品特点:
1、外侧防护密闭门能够阻挡一定强度的冲击波。
2、防护密闭门气密性好,密封可靠,开闭灵活。可阻挡有毒有害气体进入避难硐室,确保避难硐室气压始终保持高于外界气压。
3、设有一个观察窗,由高强度钢化玻璃构成,能够抵挡一定强度的冲击波。
4、防护密闭门可从内外两侧打开或锁进。
5、具有防水、隔温和降噪功能。
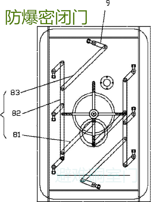
FM井下库抗冲击波密闭门由门框、门扇、闭锁装置、饺页等部件组成。
1、门框为不等边角组焊框架结构。
2、门扇上部装有三组通风活门装置,即在活门底板开有三组共18个直径122mm的通风孔,活门板外部装有自动张开12度角的活门悬板。
3、闭锁装置设置2组,一组为通常关闭用的闭锁轴,手柄转动式;另一组为紧急闭锁装置,其功能是当冲击力大于294N时,瞬间,门与门框紧闭,压缩密封圈,锁头进入锁芯,拨动双片弹簧,制动闭锁,防止门反弹;拨动外钥匙手柄即可解除闭锁。
4、下饺页采用单向推力球轴承支撑,中间采用弹簧折页,确保门自动关。
5、密封方式采用“9”字形截面橡胶条密封。
矿用抗冲击波密闭门(矿用抗冲击波活门、避难硐室防爆门)技术要求:
1.本门开启应向库内,本设计采用向右侧开启方向,若要向左侧开启,则应以门扇中心线为轴,对称变动零件位置。
2.门扇页板安装,应保证上、下铰页孔同心,中心线平行于门扇内表面中心线。
3.门框与墙洞为一整体,浇灌混凝土之前,应将铰页的固定角钢检查、较正、固定牢靠,保证上、下铰页孔在中心在一条垂直线上,不同中心度允许误差为2mm。
4.门扇安装后与门框平面应贴合,并成垂直面,局部间隙在3mm以内。
5.闭锁、铰页的活动部位应经常注入油脂,各部件应至少每年维修保养一次。
6.外露金属表面应涂红丹防锈漆二遍,桔红色面漆两遍,并在门扇外表面标出把手开 关方向。
7.为吊装门扇,门洞顶棚应相应预埋吊环一个。
8.密封胶条与门扇连接,先用 胶粘合,然后用螺栓固定。
9.密封胶条应经常涂滑石粉,防止老化。