矿用风门之避难硐室防爆门密闭门济宁和利隆厂家-张掖
比如英国钢铁业工人数到2000年已缺少3万人,美国在2000年约为15万人,器械德国吞并后加起来的钢铁业人数在2000年不到7万人。曾经主要的钢铁花费国卢森堡,在2000年钢铁业从业人数约4千人。
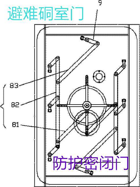
1.抗冲击波活门结构:
抗冲击波活门由门框、门扇、闭锁装置、铰页等部件组成。门框为不等边角钢组焊框架构件。
门扇上部装有三组通风活门装置,即在活门底板开有三组共18个直径122mm的通风孔,活门板外部装有自动张开12o角的活门悬板。每组活门通风量为20003/h,通风量为60003/h,风速按8m/s进行设计的,使用时可根据井下爆破材料库需要风量和回风道负压值,确定通风活门组数,并可调节每组活门悬板的张启角度进行微调,以通风量。
当库内一旦发生,冲击波经过衰减后,余压只要大于20KPa时,活门悬板受压在3~8s内自动关闭,与外界隔离,抗冲击波及产生的火焰、有体向外部巷道扩散,由回风道。矿用风门之避难硐室防爆门密闭门济宁和利隆厂家-张掖
闭锁装置设置2组,一组为通常关闭用的闭锁轴、手柄转动式;另一组为紧急闭锁装置,其功能是当冲击力大于294N时,瞬间,门与门框紧闭,压缩密封圈,锁头进入锁心,拨动双片弹簧,制动闭锁,防止门反弹;拨动外钥匙手柄即可解除闭锁。
下铰页采用单向推力球轴承支撑,中间采用弹簧折页,确保门自动关闭。密封采用“9”字形截面橡胶条密封。wxm998
2. 抗冲击波密闭门结构:
抗冲击波密闭门主要结构由门框、门扇、铰页、闭锁装置等部件组成。
门框为不等边角钢组焊框架构件;
门扇为弧形壳板、井字筋板、槽钢圈梁组焊而成;
下铰页采用单向推力球轴承支撑;
闭锁装置为闭锁轴、手柄转动式;
密封采用“9”字形截面橡胶条密封。矿用风门之避难硐室防爆门密闭门济宁和利隆厂家-张掖
避难硐室门用于煤矿井下避难硐室过渡室与生存室之间。保护硐室内人员安全(一套两扇)。向外开启,起到能防水、防火、防冲击波的作用.
避难硐室的两套门分为防水和防爆两种,防水压力可根据您的要求制作,防爆压力一般为0.3MPa,避难硐室常规尺寸有800*1600,800为宽度,1600为高度,尺寸都可以按照您的要求定做。
避难硐室门有门扇、门框为平钢板、筋板、型钢等组焊而成;锁闭机构采用双道紧密锁;门枢采用推力球轴承,方便开启。
避难硐室门注意事项
1、进入避难硐室前,176v16502562mm先通过防火密封门上的观察窗口查看过渡硐室内是否有人如果有人正在洗气等其结束洗气进入生存硐室并关闭生存硐室门后硐室外的避险人员再打开过渡硐室门进入过渡硐室进行洗气。
2、每次洗气人数不宜过8人。
3、避难硐室正常运行状态下应关闭CO2辅助硐室门。
4、采用压风供氧,硐室内共有4个压风供氧出口均需打开。
5、采用O2供氧,当O2传感器显示O2浓度低于18.5%或高于23%时,可O2流量计的旋钮来调节硐室内的O2浓度。矿用风门之避难硐室防爆门密闭门济宁和利隆厂家-张掖

6、当生存硐室内O2,CO和CO2浓度达到人体呼吸要求O2浓度为18.5%,23%,CO浓度小于24ppm,CO2浓度小于1%。的安全浓度后,方可取下配戴的自救器。
7、在压风被的情况下,温度控制阀TCV-1、2 、3 、4中始终有至少一个处于完全开启状态。当生存硐室内的温度、湿度、CO浓度,CO2浓度在安全范围内时,可根据实际情况温度控制阀TCV-1、2 、3 、4开起的个数。矿用风门之避难硐室防爆门密闭门济宁和利隆厂家-张掖
8、当CO2压力小于600PSI、过滤除湿降温集成装臵无常运行时,打开紧急气体旁路控制阀装臵运行时间。
9、当生存硐室内CO2浓度无法降至1%以下、或吸附剂颜色变为浅紫色时,更换CO2吸附剂。
10、凹槽标识应和吸附剂标识CO一致确保吸附剂放臵到正确的凹槽中。CO吸附剂一经充装放臵,请勿更换或移除。当生存硐室内CO浓度无法降至24ppm以下时更换CO吸附剂。
避难硐室密闭门(矿用避难硐室防护密闭门)的特点及技术要求:
1、避难硐室密闭门的门体有足够的强度,承压能力达1.0MPa,能有效防*止井下发生时产生的冲击应力波。
2、有效的水、气密封,门与门框间有功能各异的双层密封,以确保无任何水气渗漏。
3、避难硐室密闭门提供可在门上明显位置安装的防爆、密封的多通道动力电缆、压气、供水和通讯节点。
4、避难硐室防护密闭门的外表光洁、美观,平面密封表面做特别防锈处理。
5、避难硐室防爆门和避难硐室密闭门都要便于进出,可内外同时操控、手动快开和快闭门机构便于人员快速、多次进入和达到初始密闭的效果。