,推动行业高发展》的结讲话他在结讲话中,首先肯定了协会秘书处在人员少、工作事务繁杂及新冠肺炎疫情影响的情况下,所做的扎实有效的工作和取得的成绩,并对下一步工作提出了要求和思路,希望秘书处认真做好耐火材料行业“十四五”规划编制工作,认真做好协会成立三十年来行业的发展成果结工作,进一步加强协会统计工作网络体系建设,协会行业统计分析水平他希望大家坚定信心,积极应对,把思想和行动统一到关于当前新冠肺炎疫情防控和经济社会发展的决策部署上来,努力把握未来几年耐火材料产业。
产品介绍
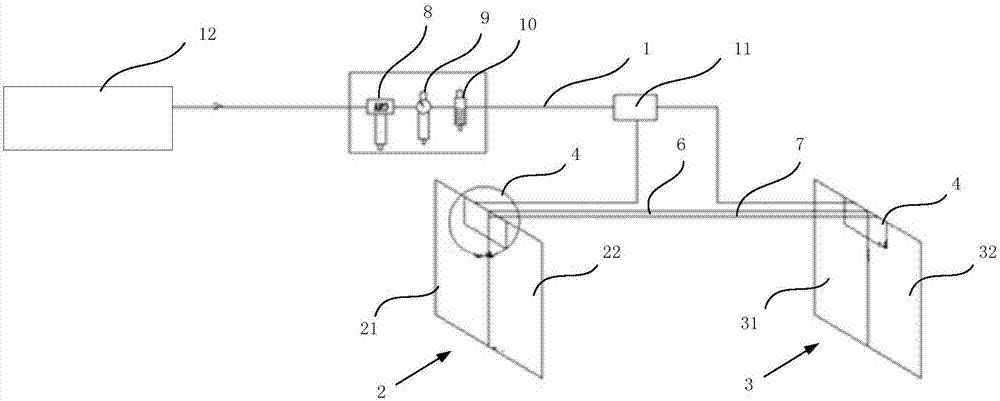
风门机械闭锁是矿山井下风门所需的一种*闭锁器,它是一种纯机械式结构,不需要外部任何动力,外观小巧、美观、实用。
该风门闭锁器主要用于矿山井下两道风门之间的互锁,以防止巷道短路。
主要特点
1)纯机械式无须任何动力,运作可靠。
2)灵活,只要一道风门,另一道风门就已闭锁无法打开。
3)使用面广,它适用于矿山井下普通风门,带反向门的风门,正向风门,无压风门等。
4)外观小巧,美观,安装方便。
适用条件
1) 无严重滴水和溅水的;
2) 有性气体()和煤尘的矿井。城中风门机械闭锁装置BSQ-A定制厂家/2022已更新
其他
1) 本产品使用、干燥、清洁的毛毡包装。
2) 在温度为-20℃~50℃、无腐蚀的中储存,禁止雨淋和暴晒。
3) 运输装卸中,禁止重摔重撞,包装箱不得倒置。城中风门机械闭锁装置BSQ-A定制厂家/2022已更新
产品介绍-风门气动闭锁装置
FZB-B型风门自动闭锁采用液压传动原理设计的风门液压闭锁装置,它主要用于煤矿井下风门间的相互闭锁。具有结构简单、开启灵活、安装方便、无需使用各种能源,适用性广、闭锁可靠等特点。wxm998
技术特点-风门气动闭锁装置
1、 本风门闭锁装置以人工打开或关闭风门的门扇为动力,带动与门扇相连的杆,通过液压管路,将对面风门的液压闭锁打开或关闭,不需要任何其他能源,适合于煤矿井下无电源和风源的场地使用。
2、 它具有安全、可靠、安装方便、自动补液等特点。 比拟之下,那些市场化水平相对较高的行业,企业进退渠道基本疏通,在优胜劣汰的机制感化下,行业全部生机清晰高于钢铁和煤炭行业,产能多余现象也能够借助市场机制掉掉落减缓,对行业开展带来的压力相对较小。革新开放以来,国有企业革新前后经历了4个分歧阶段,取得了清晰成效,国有成本的家当结构计划清晰,国有经济生机清晰增强。
3、 它适用于煤矿井下各类风门使用。城中风门机械闭锁装置BSQ-A定制厂家/2022已更新
生活手动无压风门主要特点,手动无压风门是目前煤矿井下比较的一种风门,巧妙地把作用在手动无压风门上的风压通过平衡结构将其转化为一种内力,关于手动无压风门的主要特点,通过下面这篇文章给大家做个详细的介绍.
1、手动无压风门开启力小,开启力与风压大小及风向无关;
2、双向隔风,漏风量小,无需再设反向风门;
3、钢质构造,结构简单,坚固耐用;
4、关闭平稳,安全可靠;
5、防火性能好,能有效皮带运输巷可能发生的火灾,防止火灾及有害气体进入其它巷道;
6、压力平衡式手动无压风门既能手动听操作,也可动力操作,如再加一套控制,可实现手动无压风门的自动开启;
7、两道风门之间可实现相互闭锁。
充分显示出该手动无压风门结构,使用简单,安全可靠等优点,受到*和用户的高度评价,是目前这些风巷中所用手动无压风门的替代品。要是有需要手动无压风门的朋友们可以随时联系我们,我们会24小时为大家服务城中风门机械闭锁装置BSQ-A定制厂家/2022已更新 全县触及VOC排放需整治的重点行业企业共103家,往年6月底前需完成30%以上。岁尾前完玉成县焦化、无机化工、制药、大年夜型外表喷涂等行业企业整治,到达60%以上;2017年6月底前完成80%以上,2017岁尾前全部完成。





公司实力秉承不断进取和创新之精神,把用电、智能配电作为主要发展方向,积极推动电子信息在电气自动化领域的应用和发展,并与智能化相结合。以规范化的检验为手段,完善的体系作保障,向用户提供的产品及服务;以科技为先导、为、市场为导向的经营理念,与用户建立了紧密的长期合作互利关系;为电信、电力、、、、、商业、农业、民居等诸多领域的用户提供多样化的解决方案和服务。崛起始自和品质、成长源自创新和共赢的宗旨和以人为本、创造满意的理念,凝聚了一大批的人才和人才,搭建了现代化的制度和灵活的市场运作机制。自始终坚持诚信、务实、严谨的文化建设,不断向上的氛围,将科学、融洽、积极、的理念传递给每一-位员工,充分了的向心力、凝聚力和感召力!成就客户,创造未来是我们的目标,我们不单为您提品,更延续着我们的服务体系,用我们的真诚,成为您信赖的合作伙伴,与您携手共进、共创未来!