产品简介
HBRVS-187.5型数显布洛维硬度计具备布氏,洛氏,维氏三种试验方法,七级试验力的多用途多功能硬度机,能满足用户多种硬度测试的要求。试验力的施加、保荷和卸荷自动完成。使用范围广、操作方便,是工矿企业、科研校所常备的硬度试验机。

主要功能
具备布氏,洛氏,维氏三种试验方法
七级试验力的多用途多功能硬度机,能满足用户多种硬度测试的要求
洛氏硬度,布氏和维氏读数都可数显液晶显示
试验力的施加、保荷和卸荷自动完成
使用范围广、操作方便
应用范围
a、铸件、退火钢、正火钢、有色金属及软合金的布氏硬度;
b、淬火、调质等热处理材料的洛氏硬度;
c、渗氮层、陶瓷、薄板、金属薄片、电镀层、微小零件的维氏硬度。
产品详细参数
|
型号 |
MHBRVS-187.5 |
|
|
试验力(试验力允差:±1.0%) |
洛式标尺 |
HRA, HRB, HRC, HRD,HRE, HRF,HRG,HRH,HRK 60Kg (588N),100Kg (980.7N),,150Kg(1471N) |
|
布氏标尺 |
HBW2.5/31.25, HBW2.5/62.5,HBW5/62.5, HBW2.5/187.5 30kgf(294.2N)、31.25kgf(306.5N)、62.5kgf(612.9N)、100kgf(980.7N)、187.5kgf(1839N) |
|
|
维氏标尺 |
HV30, HV100 30Kg(294.2N),100Kg (980.7N) |
|
|
被测试件允许*高度 |
测试洛氏硬度:185mm |
|
|
测试布氏、维氏硬度:135mm |
||
|
显微镜放大倍率 |
37.5X,,75X |
|
|
保菏时间 |
2 ~ 60S |
|
|
压头中心到机身距离 |
165mm |
|
|
仪器尺寸 |
520X240X700mm (长*宽*高, L*W*H) |
|
|
仪器重量 |
约85Kg |
|
|
电源 |
AC220V±5%,50~60Hz |
|
|
执行标准 |
GB/T230.2(洛氏),GB/T231.2(布氏) ,GB/T4340.2 (维氏) JJG112 (洛氏),JJG150(布氏) |
|
|
照明 |
a洛氏:不可用 |
|
|
b维氏内置照明:可调 |
||
|
c布氏用外置照明:不可调 |
||
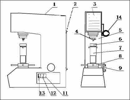
硬度计主机外形
|
1.上盖 |
2.后盖 |
3.触摸面板 |
4.压头止紧螺钉 |
5.压头 |
|
6.试台 |
7.升降螺杆 |
8.旋轮 |
9.变荷手轮 |
11.电源插座 |
|
12.保险丝 |
13.开关 |
14.支架 |
|
|
操作面板介绍
硬度计符合标准
GB/T 230.1-2018 金属材料 洛氏硬度试验 第1部分 试验方法
GB/T 230.2-2012 《金属材料 洛氏硬度试验 第2部分:硬度计的检验与校准》*标准
JJG 112-2013_金属洛氏硬度计(A,B,C,D,E,F,G,H,K,N,∕T标尺)规程
ASTM标准-金属试验方法及分析程序
GB/T4340.1-1999 GB/T 4340.1-1999 金属维氏硬度试验 第1部分:试验方法
GB/T4340.2-1999 GB/T 4340.2-1999 金属维氏硬度试验 第2部分:硬度计的检验
ISO 6507-2:2018《金属材料 维氏硬度试验 第2部分:硬度计的检验与校准》国际标准
ASTM E384-17 材料的努氏和维氏硬度标准试验方法
JJG151 - 金属维氏硬度计规程
标准配置
|
名称 |
数量 |
名称 |
数量 |
|
金刚石洛氏压头 |
1只 |
金刚石维氏压头 |
1只 |
|
φ1.5875mm、φ2.5mm、φ5mm球压头 |
共3块 |
大平试台 |
1只 |
|
中平试台 |
1只 |
“V”型试台 |
1只 |
|
标准洛氏硬度块: |
|||
|
HRC 高、低 |
各1块 |
HRB |
1块 |
|
标准维氏硬度块 |
1块 |
标准布氏硬度块 |
1块 |
|
0、1、2、3、4砝码 |
共5只 |
|
|
|
名称 |
数量 |
名称 |
数量 |
|
显微镜座 |
1只 |
测微目镜 |
1只 |
|
2.5X物镜 |
1只 |
5X物镜 |
1只 |
|
溜板试台 |
1套 |
外照明灯 |
1只 |
|
内照明灯 |
1只 |
|
|